|
Do you want to be a better CNC'er in 37 Seconds? Get Better Tool Life, Surface Finish, and Material Removal Rates Fast. It's that easy. You can install and get results now. |
CNC Rifle Stock Notes
A friend of mine and I are interested in reworking some Mauser actions to produce some nice target rifles. Part of that project will require a new stock for the rifles, and I'd like to make one using a CNC router that's my own custom design. This page is where I am collecting notes until its time to actually start the project.
Experiments in Rhino 3D

Start With Some Profile Curves...

Loft, Cap Planar Holes, Minor Fine Tuning, and Voila, a Rifle Stock in Maple!


Photo Ideas from the Web







Fiddleback Maple with a Mauser action...
Ross Precision
An interesting "machinist's" rifle.


Rifle Stock Dimensions


The "pull" is the length from trigger center to butt plate, and is usually 13 1/2" to 13 3/4"...
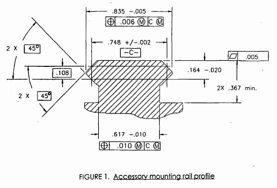
Picatinny Rail Dimensions


Cartridge Considerations
.220 Swift: High velocity, flat trajectory, minimal recoil. Probably ideal for Bobby's gun.
.244/6mm Remington: Very highly regarded in the accuracy circles it seems.
.308 Winchester: "Probably the best thing to be said of the .308 is it is capable of phenomenal accuracy; it is possibly the single most inherently accurate cartridge of a caliber larger than 6mm ever designed." Could be the one for Bob's gun.
Links
Great American Gunstock Company
Mauser Action Links
|
Do you want to be a better CNC'er in 37 Seconds? Get Better Tool Life, Surface Finish, and Material Removal Rates Fast. It's that easy. You can install and get results now.
|
||||||||||||||||||
| ||||||||||||||||||