U0171-LOST COMMUNICATION W/UP-FRONT RIGHT SATELLITE ACCELERATION SENSOR





For a complete wiring diagram Refer to Section 8W.



Possible Causes
(R80) SIGNAL CIRCUIT SHORTED TO BATTERY
(R80) SIGNAL CIRCUIT SHORTED TO GROUND
(R80, R82) FRONT RIGHT IMPACT SENSOR CIRCUITS SHORTED TOGETHER
(R82) FRONT RIGHT IMPACT SENSOR GROUND CIRCUIT OPEN
(R80) FRONT RIGHT IMPACT SENSOR SIGNAL CIRCUIT OPEN
OCCUPANT RESTRAINT CONTROLLER (ORC)




Diagnostic Test

1. VERIFY THAT DTC U0171-LOST COMMUNICATION W/UP-FRONT RIGHT SATELLITE ACCELERATION SENSOR IS ACTIVE

NOTE: Ensure the battery is fully charged.


Turn the ignition on.
With the scan tool, read ORC DTC.

Does the scan tool display active: U0171-LOST COMMUNICATION W/UP-FRONT RIGHT SATELLITE ACCELERATION SENSOR?

Yes


No

2. CHECK THE (R80) and (R82) FRONT RIGHT IMPACT SENSOR CIRCUITS FOR A SHORT TO BATTERY



WARNING: To avoid serious or fatal injury, turn the ignition off, disconnect the battery and wait two minutes before proceeding.


Disconnect the Front Right Impact Sensor connector.
Disconnect the ORC connectors.
Connect the ORC 8443-32-L Adaptor to the ORC connector.

NOTE: The IP Harness is always connected to the right side (C1) of the 8443-32-L Adapter.


WARNING: To avoid serious or fatal injury, turn the ignition on, then reconnect the battery.


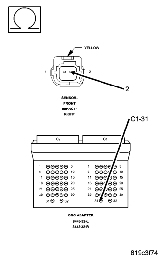
Measure the (R80) Front Right Impact Sensor Signal circuit cavity 2 and (R82) Sensor Ground circuit at the Front Right Impact Sensor cavity 1 circuit voltage between the Front Right Impact Sensor connector and ground.

Is there any voltage present?

Yes


No

3. CHECK THE (R80) AND (R82) FRONT RIGHT IMPACT SENSOR CIRCUITS FOR A SHORT TO GROUND



WARNING: To avoid serious or fatal injury, turn ignition on, then reconnect the battery.


Measure the resistance of the (R80) cavity 2 and (R82) Front Right Impact Sensor circuit cavity 1 between the Front Right Impact Sensor connector and ground.

Is the resistance below 100K ohms?

Yes


No

4. CHECK THE (R80) AND (R82) FRONT RIGHT IMPACT SENSOR CIRCUITS FOR A SHORT TOGETHER



Measure the resistance between the (R80) Front Right Impact Sensor Signal cavity 2 and (R82) Front Right Impact Sensor Ground cavity 1 circuit at the Front Right Impact Sensor connector.

Is the resistance below 100K ohms?

Yes


No

5. CHECK THE (R82) FRONT RIGHT IMPACT SENSOR GROUND CIRCUIT FOR AN OPEN OR HIGH RESISTANCE



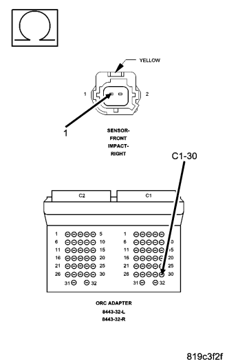
Measure the resistance of the (R82) Front Right Impact Sensor Ground circuit cavity 1 between the Front Right Impact Sensor connector and the ORC 8443-32-L Adaptor C1-30.

Is the resistance below 1 ohm?

Yes


No

6. CHECK THE (R80) FRONT RIGHT IMPACT SENSOR SIGNAL CIRCUIT FOR AN OPEN OR HIGH RESISTANCE



Measure the resistance of the (R80) Front Right Impact Sensor Signal circuit cavity 1 between the Front Right Impact Sensor connector and the ORC 8443-32-L Adaptor cavity 31.

Is the resistance below 1 ohm?

Yes


No

7. CHECK OPERATION OF THE FRONT RIGHT IMPACT SENSOR

Replace the Front Right Impact Sensor.
Reconnect the vehicle body harness to the impact sensor.
Remove any special tools or jumper wires and reconnect all previously disconnected components - except the Battery.

WARNING: To avoid serious or fatal injury, turn the ignition on, then reconnect the battery.


Connect the scan tool to the Data Link Connector - use the most current software available.
Use the scan tool and erase the stored codes in all airbag system modules.
Turn the Ignition Off, and wait 15 seconds before turning the Ignition On.
Wait one minute, and read active codes and if there are none present read the stored codes.

Did the active Front Right Impact Sensor DTC return?

Yes


No

8. REPLACE THE OCCUPANT RESTRAINT CONTROLLER

WARNING: To avoid serious or fatal injury, turn the ignition off, disconnect the battery and wait two minutes before proceeding.

WARNING: If the airbag control module is dropped at any time, it must be replaced. Failure to take the proper precautions could result in accidental airbag deployment and serious or fatal injury.



If there are no possible causes remaining, view repair.

Repair

9. TEST FOR AN INTERMITTENT CONDITION

With the scan tool, record and erase all DTC from all Airbag modules.
If any ACTIVE codes are present they must be resolved before diagnosing any stored codes.

WARNING: To avoid serious or fatal injury, turn the ignition off, disconnect the battery and wait two minutes before proceeding.


Using the wiring diagram/schematic as a guide, inspect the wiring and connectors.
Look for chafed, pierced, pinched, or partially broken wires and broken, bent, pushed out, spread, corroded, or contaminated terminals.
The following additional checks may assist you in identifying a possible intermittent problem.
Reconnect any disconnected components and harness connector.

WARNING: To avoid serious or fatal injury, turn the ignition on, then reconnect the battery.


With the scan tool monitor active codes as you work through the following steps.

WARNING: To avoid serious or fatal injury, maintain a safe distance from all airbags while performing the following steps.


Wiggle the wiring harness and connectors of the related airbag circuit or component.
If codes are related to the Driver Airbag circuits, rotate the steering wheel from stop to stop.
If only stored codes return continue the test until the problem area has been isolated.
In the previous steps you have attempted to recreate the conditions responsible for setting active DTC in question.

Are any ACTIVE DTC present?

Yes


No