B1C2D-RIGHT SIDE SEAT THORAX SQUIB 1 OPEN





For a complete wiring diagram Refer to Section 8W.



Possible Causes
(R32) RIGHT SEAT SQUIB LINE 1 CIRCUIT OPEN
(R34) RIGHT SEAT SQUIB LINE 2 CIRCUIT OPEN
RIGHT SEAT SQUIB AIRBAG
OCCUPANT RESTRAINT CONTROLLER (ORC)




Diagnostic Test

1. DETERMINE ACTIVE OR STORED DTC

NOTE: Ensure that the battery is fully charged.

NOTE: The scan tool, SRS Airbag Load Tool MRL 8443, and DVOM are required to perform the following test.


Turn the ignition on.

Select ACTIVE or STORED DTC:

ACTIVE DTC


STORED DTC

2. CHECK FOR OPEN SQUIB CIRCUITS IN RIGHT SEAT SQUIB AIRBAG


WARNING: To avoid serious or fatal injury, turn the ignition off, disconnect the battery and wait two minutes before proceeding.


Disconnect the Right Seat Squib Airbag connector.

WARNING: To avoid serious or fatal injury, do not place an intact uncoupled Seat Squib Airbag face down on a hard surface, the airbag will propel into the air if accidentally deployed.


NOTE: Check connectors - Clean and repair as necessary.


Connect the 8443 Load Tool and 8443-1 Jumper to the Right Seat Squib Airbag connector.

WARNING: To avoid serious or fatal injury, turn the ignition on, then reconnect the battery.


With the scan tool, read the active ORC DTC.

Does the scan tool display: B1C2D-RIGHT SIDE SEAT THORAX SQUIB 1 OPEN?

Yes


No

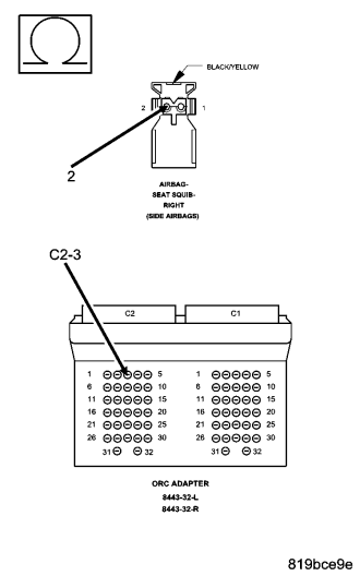
3. CHECK (R32) RIGHT SEAT SQUIB LINE 1 CIRCUIT FOR AN OPEN


WARNING: To avoid serious or fatal injury, turn the ignition off, disconnect the battery and wait two minutes before proceeding.


Disconnect the 8443 Load Tool and Jumper from the Right Seat Squib Airbag connector.
Disconnect the ORC connectors.

NOTE: Check connectors - Clean and repair as necessary.


Connect the ORC 8443-32-L Adaptor to the ORC connectors.
Measure the resistance of the (R32) Right Seat Squib Line 1 circuit between the Right Seat Squib Airbag connector and the ORC 8443-32-L Adaptor.

Is the resistance below 1.0 ohm?

Yes


No

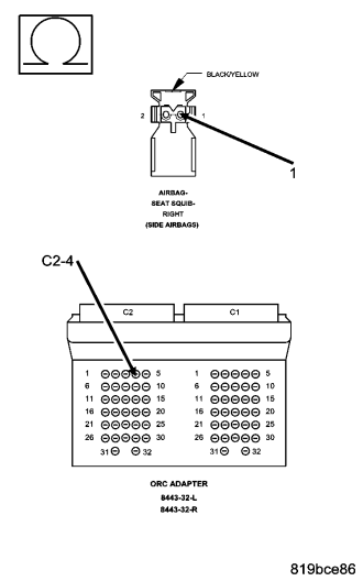
4. CHECK (R34) RIGHT SEAT SQUIB LINE 2 CIRCUIT FOR AN OPEN



Measure the resistance of the (R34) Right Seat Squib Line 2 circuit between the Right Seat Squib Airbag connector and the ORC 8443-32-L Adaptor.

Is the resistance below 1.0 ohm?

Yes


No

5. CHECKING STORED OR INTERMITTENT CODES

NOTE: Diagnose and repair all active codes before diagnosing stored codes. Refer to the Table of Contents in this Section for a complete list of airbag system diagnostic procedures.


With the scan tool, record and erase all Airbag System Module DTC.

WARNING: To avoid serious or fatal injury, turn the ignition off, disconnect the battery and wait two minutes before proceeding.


Using the wiring diagram/schematic as a guide, inspect the related wiring and connectors for chafed, pierced, pinched, and partially broken wires, and for broken, bent, pushed out, corroded, and contaminated terminals. Repair as necessary.
Reconnect all disconnected components and harness connectors.

WARNING: To avoid serious or fatal injury, turn the ignition on, then reconnect the battery.


With the scan tool, monitor for active codes while performing the following:
In the previous steps you have attempted to recreate the conditions responsible for setting the DTC in question/causing the intermittent condition.

Are any ACTIVE DTC present?

Yes


No