B1B84-PASSENGER SEAT WEIGHT SENSOR 4 - LEFT REAR INPUT CIRCUIT HIGH





For a complete wiring diagram Refer to Section 8W.



Possible Causes
PASSENGER SEAT HARNESS IMPROPERLY ROUTED
PASSENGER SEAT HARNESS WIRES CHAFED, PIERCED, PINCHED, PARTIALLY BROKEN
PASSENGER SEAT HARNESS CONNECTOR TERMINALS BROKEN, BENT PUSHED OUT, SPREAD, CORRODED, CONTAMINATED
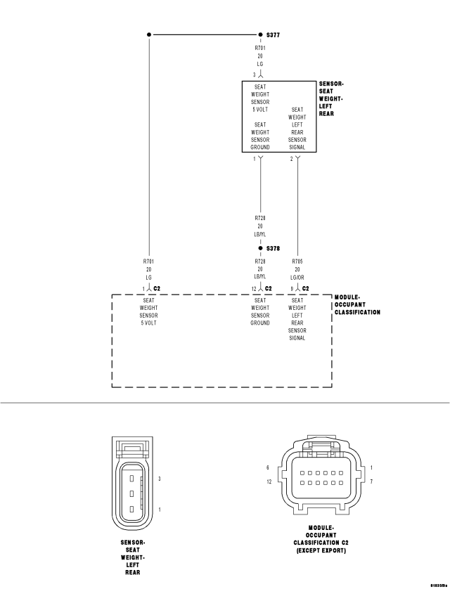
(R705) LT-RR SEAT WEIGHT SENSOR SIGNAL CIRCUIT SHORTED TO VOLTAGE
(R705) LT-RR SEAT WEIGHT SENSOR SIGNAL CIRCUIT SHORTED TO (R701) SEAT WEIGHT SENSOR 5 VOLT CIRCUIT
(R728) SEAT WEIGHT SENSOR GROUND CIRCUIT OPEN
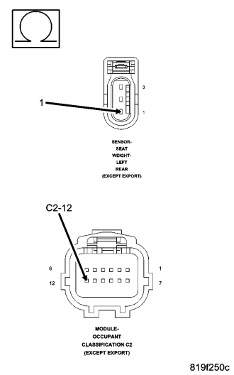
LEFT-REAR SEAT WEIGHT SENSOR
OCCUPANT CLASSIFICATION MODULE (OCM)




Diagnostic Test

1. CHECK FOR ACTIVE INTERNAL FAULTS, IGNITION FAULTS, AND BATTERY FAULTS IN THE OCCUPANT CLASSIFICATION MODULE (OCM)

NOTE: Ensure that the battery is fully charged.


Turn the ignition on, then off, and then on again.
With the scan tool, read Occupant Classification Module (OCM) DTC.

Does the scan tool display any active DTC relating to internal faults, ignition faults, or battery faults?

Yes


No

2. VERIFY THAT DTC B1B84-PASSENGER SEAT WEIGHT SENSOR 4 - LEFT REAR INPUT CIRCUIT HIGH IS ACTIVE

NOTE: Failure to follow the test instructions or aborting the test will cause faults to set when performing the Occupant Classification Module System Verification Test. To prevent faults due to process errors: verify that all tests steps that led you here were performed as directed; verify that the ignition is in run; Wait 30 seconds after changing the seat weight before proceeding to allow the system to stabilize; only press scan tool buttons when directed to do so; and perform the Occupant Classification Module System Verification Test to completion.


With the scan tool in OCM, select More Options, select System Tests, and select Occupant Classification Module System Verification Test. Run the test by following the instructions displayed on the scan tool. When the test is complete, wait two minutes, and then proceed as follows.
With the scan tool, read OCM DTC.

Does the scan tool display active: B1B84-PASSENGER SEAT WEIGHT SENSOR 4 - LEFT REAR INPUT CIRCUIT HIGH?

Yes


No

3. VERIFY THAT DTC B1B84-PASSENGER SEAT WEIGHT SENSOR 4 - LEFT REAR INPUT CIRCUIT HIGH IS ACTIVE

Verify that all of the Seat Weight Sensor mounting screws are tightened to torque specification. Refer to GROUP 23 for specification.

NOTE: Failure to follow the test instructions or aborting the test will cause faults to set when performing the Occupant Classification Module System Verification Test. To prevent faults due to process errors: verify that all tests steps that led you here were performed as directed; verify that the ignition is in run; Wait 30 seconds after changing the seat weight before proceeding to allow the system to stabilize; only press scan tool buttons when directed to do so; and perform the Occupant Classification Module System Verification Test to completion.


With the scan tool in OCM, select More Options, select System Tests, and select Occupant Classification Module System Verification Test. Run the test by following the instructions displayed on the scan tool. When the test is complete, wait two minutes, and then proceed as follows.
With the scan tool, read OCM DTC.

Does the scan tool display active: B1B84-PASSENGER SEAT WEIGHT SENSOR 4 - LEFT REAR INPUT CIRCUIT HIGH?

Yes


No

4. INSPECT PASSENGER SEAT HARNESS WIRES AND CONNECTORS

WARNING: To avoid serious or fatal injury, turn the ignition off, disconnect the battery and wait two minutes before proceeding.


Using the wiring diagram / schematic as a guide, inspect the Passenger Seat Harness wiring and connectors. Look for chafed, pierced, pinched, or partially broken wires and broken, bent, pushed out, spread, corroded, or contaminated terminals.

Are any of these conditions present?

Yes


No

5. VERIFY THAT PASSENGER SEAT HARNESS IS ROUTED CORRECTLY

Verify that the Passenger Seat Harness is routed correctly.

Is the Passenger Seat Harness routed correctly?

Yes


No

6. CHECK (R705) LT-RR SEAT WEIGHT SENSOR SIGNAL CIRCUIT FOR A SHORT TO VOLTAGE



Disconnect the OCM C2 connector.
Measure the voltage of the (R705) LT-RR Seat Weight Sensor Signal circuit.

Is the voltage above 0.2 volt?

Yes


No

7. CHECK (R705) LT-RR SEAT WEIGHT SENSOR SIGNAL CIRCUIT FOR A SHORT TO (R701) SEAT WEIGHT SENSOR 5 VOLT CIRCUIT



Disconnect the Left-Rear Seat Weight Sensor connector.
Measure the resistance between the (R705) LT-RR Seat Weight Sensor Signal circuit and the (R701) Seat Weight Sensor 5 Volt circuit.

Is the resistance below 5.0 ohms?

Yes


No

8. CHECK (R728) SEAT WEIGHT SENSOR GROUND CIRCUIT FOR AN OPEN



Measure the resistance of the (R728) Seat Weight Sensor Ground circuit between the OCM C2 connector and the Left-Rear Seat Weight Sensor connector.

Is the resistance below 5.0 ohms?

Yes


No

9. CHECKING STORED OR INTERMITTENT CODES

NOTE: Diagnose and repair all active codes before diagnosing stored codes. Refer to the Table of Contents in this Section for a complete list of airbag system diagnostic procedures.


With the scan tool, record and erase all Airbag System Module DTC.

WARNING: To avoid serious or fatal injury, turn the ignition off, disconnect the battery and wait two minutes before proceeding.


Using the wiring diagram / schematic as a guide, inspect the related wiring and connectors for chafed, pierced, pinched, and partially broken wires, and for broken, bent, pushed out, corroded, and contaminated terminals. Repair as necessary.
Reconnect all disconnected components and harness connectors.

WARNING: To avoid serious or fatal injury, turn the ignition on, then reconnect the battery.


With the scan tool, monitor for active codes while performing the following:
In the previous steps you have attempted to recreate the conditions responsible for setting the DTC in question / causing the intermittent condition.

Are any ACTIVE DTC present?

Yes


No