*ONE PASSENGER DOOR LOCK INOPERATIVE





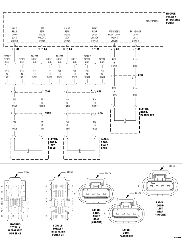
For a complete wiring diagram Refer to Section 8W.



Possible Causes
(P32), (P38) OR (P920) DOOR LOCK DRIVER CIRCUIT OPEN
(P32, (P38) OR (P920) DOOR LOCK DRIVER CIRCUIT SHORT TO GROUND
(P5), (P34) OR (P940) DOOR UNLOCK DRIVER CIRCUIT OPEN
(P5), (P34) OR (P940) DOOR UNLOCK DRIVER CIRCUIT SHORT TO GROUND
TOTALLY INTEGRATED POWER MODULE (TIPM)
DOOR LATCH


Diagnostic Test


1. PASSENGER DOOR LATCH INOPERATIVE

NOTE: Graphics in this test show Left Rear Latch but the other 2 passenger latches are similar.




Turn the ignition off.
Disconnect the inoperative Passenger Door latch connector.
Connect a test light between the Door Lock Driver circuit and the Door Unlock Driver circuit.
Close the front doors or trip the door latches to the closed position.
Operate the door locks in both positions and observe the test light.

Does the test light illuminate brightly for approximately 300 ms. when the door locks are actuated?

Yes


No

2. PASSENGER DOOR UNLOCK DRIVER CIRCUIT OPEN



Turn the ignition off.
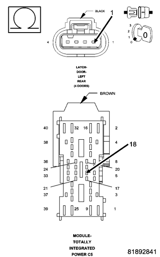
Disconnect the TIPM C5 connector.
Measure the resistance of the appropriate Door Unlock Driver circuit between the Latch connector and the TIPM C5 connector.

Is the resistance below 2.0 ohms?

No


Yes

3. PASSENGER DOOR UNLOCK DRIVER CIRCUIT SHORT TO GROUND



Measure the resistance between Ground and the appropriate Door Unlock Driver circuit.

Is the resistance below 1000.0 ohms?

Yes


No

4. PASSENGER DOOR LOCK DRIVER CIRCUIT OPEN



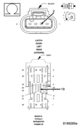
Disconnect the TIPM C6 connector.
Measure the resistance of the appropriate Door Lock Driver circuit between the TIPM C6 connector and the appropriate Door Latch connector.

Is the resistance below 2.0 ohms?

Yes


No

5. PASSENGER DOOR LOCK DRIVER CIRCUIT SHORT TO GROUND



Measure the resistance between Ground and the appropriate Door Lock Driver circuit.

Is the resistance below 1000.0 ohms?

Yes


No