BRAKE LAMP SWITCH

WARNING: To avoid serious or fatal injury on vehicles equipped with airbags, disable the supplemental restraint system before attempting any steering wheel, steering column, airbag, occupant classification system, seat belt tensioner, impact sensor, or instrument panel component diagnosis or service. Disconnect and isolate the battery negative (ground) cable, then wait two minutes for the system capacitor to discharge before performing further diagnosis or service. This is the only sure way to disable the supplemental restraint system. Failure to take the proper precautions could result in accidental airbag deployment.




1. Disconnect and isolate the battery negative cable.
2. Disconnect the wire harness connector from the brake lamp switch.
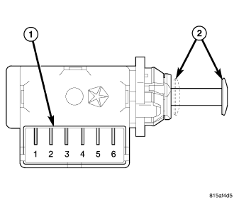
3. Using an ohmmeter, perform the continuity tests at the terminal pins (1) in the brake lamp switch connector receptacle as shown in the Brake Lamp Switch Tests table.
BRAKE LAMP SWITCH TESTS
PLUNGER POSITION (2)
CONTINUITY BETWEEN
Released (Extended)
Pins 1 and 2
Compressed (Depressed)
Pins 3 and 4, 5 and 6


4. If the switch fails any of the continuity tests, replace the ineffective brake lamp switch as required.