INSTALLATION

WARNING: Allow the urethane at least 24 hours to cure before returning the vehicle to use.

CAUTION: Roll down the left and right front door glass and open the rear glass slider (if available) before installing quarter glass to avoid pressurizing the passenger compartment if a door is slammed before urethane is cured. Water leaks can result.

NOTE: The quarter glass fence should be cleaned of most of its old urethane bonding material. A small amount of old urethane, approximately 1-2 mm in height, should remain on the fence. Do not grind off or completely remove all old urethane from the fence, the paint finish and bonding strength will be adversely affected.


Glass Preparation - Installing A Previously Installed Quarter Glass




1. Before proceeding with the following repair procedure, review all warnings and cautions.
(Refer to 23 - BODY/STATIONARY GLASS - WARNING)
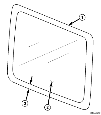
2. Level old bead of quarter glass adhesive (3) to a thickness of approximately 1 mm (0.04 in.) and remove loose adhesive.

NOTE: Typical primer installation shown.


3. Clean and dry area of glass (2) to be re-glued with a suitable glass preparation solvent and rag.
4. Using a flash light, verify that glass primer is without damage.
5. Re-prime any damaged area. If old adhesive has been exposed for more than 12 hours, entire adhesive area needs to be re-primed.
6. Apply primer (1) around the perimeter of the glass to a width of 18 mm (0.7 in.) and 6 mm (0.25 in.) from the edge.
7. Allow primer to air dry for at least 10 minutes.
8. Using a flash light, verify that glass primer is without damage.

Glass Preparation - Installing A New Quarter Glass



NOTE: Typical primer installation shown.


1. Clean and dry area of glass (2) to be re-glued with a suitable glass preparation solvent and rag.
2. Apply primer to gluing surface at quarter glass seal.
3. Apply primer (1) around the perimeter of the glass to a width of 18 mm (0.7 in.) and 6 mm (0.25 in.) from the edge.
4. Allow primer to air dry for at least 10 minutes.
5. Using a flash light, verify that glass primer is without damage.



6. Apply a thin coat of blackout glass primer to the glass surface (2) to a width of 18 mm (0.7 in.) and 6 mm (0.25 in.) from the edge (3).
7. Allow primer to air dry for at least 20 seconds.

Quarter Glass Opening Preparation



NOTE: Windshield opening shown, quarter glass opening similar.


1. Clean and vacuum quarter glass opening.
2. Level old bead of quarter glass opening adhesive (1) to a thickness of approximately 1 mm (0.04 in.) and remove loose adhesive.


NOTE: Windshield opening shown, quarter glass opening similar.


3. Clean and dry area of quarter glass opening to be re-glued with a suitable glass preparation solvent and rag.
4. Re-prime any damaged area. If old adhesive has been exposed for more than 12 hours, entire adhesive area needs to be re-primed.
5. Allow primer to air dry for at least 10 minutes.

Quarter Glass Installation




1 - ADHESIVE HEIGHT 12.7 mm (0.50 in)
2 - ADHESIVE TIP WIDTH 3 mm (0.120 in)
3 - INNER WINDSHIELD SURFACE
4 - ADHESIVE WIDTH 9.5 mm (0.375 in)


1. Bead dimensions should be approximately 8.0 mm (0.315 in) wide (4) by 12.7 mm (0.50 in) in height (1).
2. Apply bead of adhesive with a triangular nozzle directly to the quarter glass seal starting at bottom in center of the quarter glass.
3. Locate the bead of adhesive onto the primed glass surface (3).

CAUTION: Always apply bead of adhesive to the quarter glass. Always install the quarter glass within 5 minutes after applying adhesive.




4. Allow end of adhesive bead (1) to run out parallel to the start of the bead and smooth ends flush.



5. Lift quarter glass into place in the center of the quarter glass opening and install over the alignment spacers (3).
6. Carefully lay down the quarter glass and press on.

CAUTION: It is no longer possible to move the quarter glass after installation. The quarter glass should never be pressed into place by more than one person, because the quarter glass can break if pressed simultaneously on both sides.

CAUTION: Roll down the left and right front door glass and open the rear glass slider (if available) before installing quarter glass to avoid pressurizing the passenger compartment if a door is slammed before urethane is cured. Water leaks can result.