DISASSEMBLY

CAUTION:
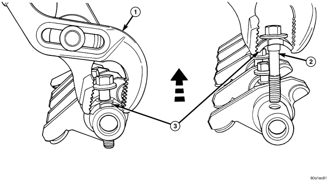
Do not attempt to drive the billeted bolt from the rocker shaft. This can damage the rocker arm retainer and bolt assembly.
1.
Remove the rocker arm retainer and bolt by performing the following procedure:
a.
Using adjustable pliers, grip the edges of the retainer .
b.
Apply an upward force with a slight rocking motion until the retainer disengages from shaft .

2.
Remove rocker arms . Identify the component locations for reassembly in original locations.