REMOVAL




1. Remove differential case from axle housing.
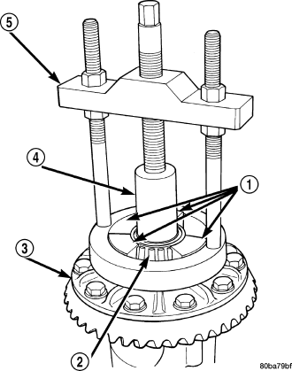
2. Remove bearings (2) from the differential case with Puller C-293-PA (5), Adapters C-293-47 (1) and Plug C-293-3 (4).

NOTE: Use the same tools for the Tru-Lok differential.