PINION DEPTH-BEARING PRELOAD-GEAR BACKLASH



Ring and pinion gears are supplied as matched set. The identifying match numbers (3) for the ring and pinion gear are etched into the face of each gear. A plus (+) number, minus (–) number or zero (0) is etched into the face of the pinion gear (2). This number is the amount (in thousandths of an inch) the depth varies from the standard depth setting of a pinion etched with a (0). The standard depth provides the best teeth contact pattern. Refer to Backlash and Contact Pattern Analysis Paragraph in this section for additional information.

Compensation for pinion depth variance is achieved with select shims. The shims are placed under the inner pinion bearing on the pinion shaft.

If a new gear set is being installed, note the depth variance etched into both the original and replacement pinion gear. Add or subtract the thickness of the original depth shims to compensate for the difference in the depth variances. Refer to the Depth Variance charts.

Note where Old and New Pinion Marking columns intersect. The intersecting figure represents plus or minus the amount needed.

Note the etched number on the face of the drive pinion gear (–1, –2, 0, +1, +2, etc.). The numbers represent thousands of an inch deviation from the standard. If the number is negative, add that value to the required thickness of the depth shim(s). If the number is positive, subtract that value from the thickness of the depth shim(s). If the number is 0 no change is necessary. Refer to the Pinion Gear Depth Variance Chart.


PINION GEAR DEPTH VARIANCE

Original Pinion Gear Depth Variance
Replacement Pinion Gear Depth Variance
−4
−3
−2
−1
0
+1
+2
+3
+4
+4
+0.008
+0.007
+0.006
+0.005
+0.004
+0.003
+0.002
+0.001
0
+3
+0.007
+0.006
+0.005
+0.004
+0.003
+0.002
+0.001
0
−0.001
+2
+0.006
+0.005
+0.004
+0.003
+0.002
+0.001
0
−0.001
−0.002
+1
+0.005
+0.004
+0.003
+0.002
+0.001
0
−0.001
−0.002
−0.003
0
+0.004
+0.003
+0.002
+0.001
0
−0.001
−0.002
−0.003
−0.004
−1
+0.003
+0.002
+0.001
0
−0.001
−0.002
−0.003
−0.004
−0.005
−2
+0.002
+0.001
0
−0.001
−0.002
−0.003
−0.004
−0.005
−0.006
−3
+0.001
0
−0.001
−0.002
−0.003
−0.004
−0.005
−0.006
−0.007
−4
0
−0.001
−0.002
−0.003
−0.004
−0.005
−0.006
−0.007
−0.008


PINION DEPTH MEASUREMENT



Measurements are taken with pinion cups and pinion bearings installed in housing. Take measurements with Pinion Gauge Set 6730 (2,3,4,5,6,7,8) and Dial Indicator C-3339A (1).




1. Assemble Pinion Height Block 6739 (2), Pinion Block 9990 (1) and rear pinion bearing onto Screw 6741.
2. Insert assembled height gauge components, rear bearing and screw into axle housing through pinion bearing cups.
3. Install front pinion bearing and Cone Nut 6740. Tighten nut until torque to rotate the screw is 2.25 Nm (20 in. lbs.). Measure torque to rotate with an inch pound torque wrench.



4. Place Arbor Disc 8541 (1) on Arbor D-115-3 (2) and position in the housing side bearing cradles.

NOTE: Arbor Discs 8541 have different step diameters to fit other axle sizes. Pick correct size step for axle being serviced.




5. Install differential bearing caps (1) on arbor discs (2) and tighten cap bolts to 108 Nm (80 ft. lbs.).



6. Assemble Dial Indicator C-3339A (1) into Scooter Block D-115-2 (2) and secure set screw.
7. Place Scooter Block/Dial Indicator in position in axle housing so dial probe and scooter block are flush against the rearward surface of the pinion height block. Hold scooter block in place and zero the dial indicator face to the pointer. Tighten dial indicator face lock screw.
8. Slowly slide the Scooter Block/Dial Indicator across the pinion height block over to the arbor bar (1). Move the Scooter Block/Dial Indicator to the crest of the arbor bar and record the highest reading.
9. Select a shim equal to the dial indicator reading plus or minus the pinion gear depth variance number etched in the face of the pinion gear. Example: If the depth variance is – 2 add 0.002 in. to the dial indicator reading. If the depth variance is + 2 subtract 0.002 in. to the dial indicator reading.

The total is the shim thickness needed for the pinion depth variance.


PRELOAD SHIM SELECTION



Before performing differential bearing preload and ring gear backlash measurements, pinion gear depth must be established and the pinion gear ready for installation. Establishing pinion gear depth is essential to gear backlash and tooth contact patterns.

Differential side bearing preload and gear backlash is accomplish with selective shims (2,4) positioned behind the differential side bearing cups. Shim thickness is determined using Dummy Bearings 9992 in place of the differential side bearings and a Dial Indicator C-3339A.

SHIM FORMULA : Differential End Play + Preload Specification = Total Shims. Total Shims – Ring Gear Side Shim – Backlash Specification = Pinon Gear Side Shim.




1. Remove differential side bearings from differential case.
2. Remove factory installed shims from differential case.
3. Install ring gear on differential case and tighten bolts to specification.
4. Install dummy side bearings 9992 (1) on differential case.
5. Install differential case (3) with dummy bearings (1) into the differential housing (2).



6. Install the differential (3) bearing caps (1) in their correct positions. Install and snug the bolts.



7. Seat pinion gear side (2) differential dummy bearing in the housing with a dead blow hammer (1).



8. Seat ring gear side (1) differential dummy bearing in the housing with a dead blow hammer (2).



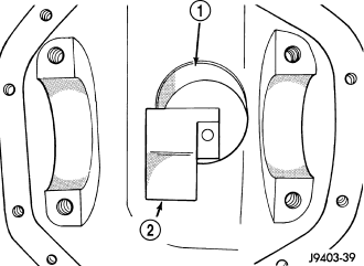
9. Install Pin C-3288-B (3) into rear cover bolt hole below ring gear.
10. Attach a dial indicator C-3339A (4) to Pilot Stud C-3288-B (3). Position the dial indicator plunger on a flat surface between the ring gear bolt heads.



11. Push and hold differential case (1) to pinion gear side of the housing and zero dial indicator (2).



12. Push and hold differential case (2) to ring gear side of the housing. Record dial indicator (1) differential end-play reading. Add 0.25 mm (0.010 in.) preload specification to differential end-play reading. This is the total shim needed to preload the differential bearings.
13. Rotate dial indicator out of the way on pilot stud.
14. Remove differential case and dummy bearings from the housing.
15. Install pinion gear in the housing and establish pinion torque to rotating (PTTR) .



16. Install differential case and dummy bearings 9992 in the housing, install bearing caps and tighten bolts snug.
17. Seat ring gear side (3) dummy bearing in the housing (1) with dead blow hammer (2)



18. Position the dial indicator plunger (4) on a flat surface between the ring gear bolt heads.



19. Push and hold differential case (1) toward the pinion gear and zero dial indicator (2).



20. Push and hold differential case (2) to ring gear side of the housing and record dial indicator (1) ring gear side reading.
21. Subtract backlash specification 0.05 mm (0.002 in.) from ring gear side reading for ring gear backlash. The remainder is the shim needed on the ring gear side of the differential.
22. Subtract ring gear side shim from total preload shim. This remainder is the shim needed on the pinion side of the differential.
23. Rotate dial indicator out of the way on pilot stud.
24. Remove differential case and dummy bearings from the housing.
25. Install new side bearings on differential case.



26. Install Spreader W-129-B (1) with hold downs (2) from Adapter Set 6987B on the housing and spread open enough to receive differential case.

CAUTION: Never spread housing over 0.50 mm (0.020 in). Failure to follow these instructions will damage the housing.




27. Install differential case (2) into the housing with bearing cups (3) and shims.



28. Install bearing caps and tighten bolts finger tight. Remove spreader from the housing.
29. Install bearing cap (1) and tighten bolts to 108 Nm (80 ft. lbs.).
30. Rotate the differential case several times to seat the side bearings.



31. Position dial indicator (1) plunger against a ring gear tooth.
32. Push and hold ring gear upward while not allowing the pinion gear to rotate and zero dial indicator.
33. Push and hold ring gear downward while not allowing the pinion gear to rotate. Dial indicator reading should be between 0.12 mm - 0.20 mm (0.005 in. - 0.008 in.).


If backlash is not within specifications transfer the necessary amount of shim thickness from one side of the housing to the other

Verify differential case and ring gear runout by measuring ring to pinion gear backlash at eight locations around the ring gear. Readings should not vary more than 0.05 mm (0.002 in.). If readings vary more than specified, the ring gear or the differential case is defective.

After the proper backlash is achieved, perform Gear Contact Pattern Analysis procedure.


GEAR CONTACT PATTERN



The ring gear and pinion teeth contact patterns will show if the pinion depth is correct in the housing. It will also show if the ring gear backlash has been adjusted correctly. The backlash can be adjusted within specifications to achieve desired tooth contact patterns.

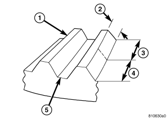
The TOP LAND (1) of the gear tooth is the top surface of the tooth. The PROFILE (2) of the gear tooth is the depth of the tooth. The TOE (3) of the gear is the portion of the tooth surface at the end towards the center. The HEEL (4) of the gear is the portion of the tooth at the outer-end. The ROOT (5) of the gear tooth is the lowest portion of the tooth.

NOTE: If the PROFILE across the tooth is the same it is a 3 Axis cut gear. If the PROFILE across the tooth is tapered it is a 2 Axis cut gear.


1. Apply a thin coat of hydrated ferric oxide or equivalent to the drive and coast side of the ring gear teeth.
2. Wrap, twist, and hold a shop towel around the pinion yoke to increase the turning resistance of the pinion. This will provide a more distinct contact pattern.
3. Using a boxed end wrench on a ring gear bolt, Rotate the differential case one complete revolution in both directions while a load is being applied from shop towel.

The areas on the ring gear teeth with the greatest degree of contact against the pinion teeth will squeegee the compound to the areas with the least amount of contact. Note and compare patterns on the ring gear teeth to Gear Tooth Contact Patterns chart and adjust pinion depth and gear backlash as necessary.

THREE AXIS CUT GEARS



TWO AXIS CUT GEARS




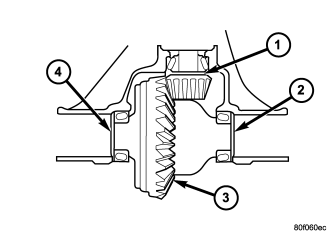
DIFFERENTIAL BEARING PRELOAD CHECK



With an inch pound torque wrench (2) measure Total Torque To Rotate (TTTR). This is the final check on the differential assembly before installing the axle shafts. This will verify the correct differential bearing preload.

Total Torque To Rotate the differential is: Pinion Torque To Rotate plus 0.79 - 1.24 Nm (7 - 11 in. lbs.).

NOTE: If TTTR is high, decrease the shim thickness equally on both sides of the differential and check TTTR again. If TTTR is low, increase the shims thickness equally on both sides of the differential and check TTTR again.