INSTALLATION

CAUTION:
The weight of the vehicle must be supported by the springs before the control arms and track bar are tightened. Failure to follow these instruction will cause premature
bushing failure.
1.
Raise the axle under the vehicle.
2.
Install lower control arms (1) onto axle brackets (2) and loosely install mounting bolts and nuts.
3.
Install coil spring isolators and springs.
4.
Raise axle up until springs are seated.

5.
Install upper control arms (1) onto axle brackets (2) and loosely install mounting bolts and nuts.

6.
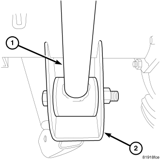
Install shock absorbers (1) onto axle brackets (2) and tighten nuts to specification.

7.
Install stabilizer links (1) onto axle brackets (2) and tighten nuts to specification.

8.
Install track bar (1) onto axle bracket (2). and loosely install track bar bolt.

9.
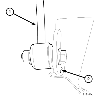
Install brake sensors connector (1) on sensors (2).

10.
Install park brake cables (1) on axle (2).

11.
Install brake rotors (1) and calipers (2) on axle.

12.
Install vent hose (1) on axle tube (2).

13.
Connect Tru-Lok wiring connectors (1,2).

14.
Install propeller shaft with propeller shaft flange (1) and pinion flange (2) reference marks aligned.
NOTE:
Clean all propeller shaft bolts and apply Mopar Lock & Seal Adhesive or equivalent to the threads before installation.
15.
Install propeller shaft bolts and tighten to specifications.
16.
Install wheels and tires.
17.
Remove lift from axle and lower vehicle.
18.
Tighten lower control arms, upper control arms and track bar nuts to specification.