PINION DEPTH-BEARING PRELOAD-GEAR BACKLASH



Ring and pinion gears are supplied as matched sets. The identifying numbers for the ring and pinion gear are etched into the face of each gear (3). A plus (+) number, minus (–) number or zero (0) is etched into the face of the pinion gear (2). This number is the amount (in thousandths of an inch) the depth varies from the standard depth setting of a pinion etched with a (0). The standard depth provides the best teeth contact pattern. Refer to Backlash and Contact Pattern Analysis Paragraph in this section for additional information.

If a new gear set is being installed, note the depth variance etched into both the original and replacement pinion gear. Add or subtract the thickness of the original depth shims to compensate for the difference in the depth variances. Refer to the Depth Variance charts.

Note where Old and New Pinion Marking columns intersect. Intersecting figure represents plus or minus amount needed.

Note the etched number on the face of the drive pinion gear (–1, –2, 0, +1, +2, etc.). The numbers represent thousands of an inch deviation from the standard. If the number is negative, add that value to the required thickness of the depth shim(s). If the number is positive, subtract that value from the thickness of the depth shim(s). If the number is 0 no change is necessary. Refer to the Pinion Gear Depth Variance Chart.


PINION GEAR DEPTH VARIANCE

Original Pinion Gear Depth Variance
Replacement Pinion Gear Depth Variance
−4
−3
−2
−1
0
+1
+2
+3
+4
+4
+0.008
+0.007
+0.006
+0.005
+0.004
+0.003
+0.002
+0.001
0
+3
+0.007
+0.006
+0.005
+0.004
+0.003
+0.002
+0.001
0
−0.001
+2
+0.006
+0.005
+0.004
+0.003
+0.002
+0.001
0
−0.001
−0.002
+1
+0.005
+0.004
+0.003
+0.002
+0.001
0
−0.001
−0.002
−0.003
0
+0.004
+0.003
+0.002
+0.001
0
−0.001
−0.002
−0.003
−0.004
−1
+0.003
+0.002
+0.001
0
−0.001
−0.002
−0.003
−0.004
−0.005
−2
+0.002
+0.001
0
−0.001
−0.002
−0.003
−0.004
−0.005
−0.006
−3
+0.001
0
−0.001
−0.002
−0.003
−0.004
−0.005
−0.006
−0.007
−4
0
−0.001
−0.002
−0.003
−0.004
−0.005
−0.006
−0.007
−0.008


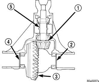
PINION DEPTH MEASUREMENT



Measurements are taken with pinion cups and pinion bearings installed in the housing. Take measurements with a Pinion Gauge Set 6730 (2,3,4,5,7) Pinion Block 6735 (6), Arbor Discs 6927A (8) and Dial Indicator C-3339A (1).




1. Assemble Pinion Height Block 6739 (2), Pinion Block 9963 (1) and rear pinion bearing onto Screw 6741.
2. Insert assembled height gauge components, rear bearing and screw into the housing through pinion bearing cups.
3. Install front pinion bearing and Cone Nut 6740. Tighten nut until torque to rotate the screw is 2.25 Nm (20 in. lbs.). Measure torque to rotate with an inch pound torque wrench.



4. Place Arbor Disc 6927A (1) on Arbor D-115-3 (3) in position in the housing side bearing cradles.



5. Install differential bearing caps on Arbor Discs and tighten cap bolts to 77 Nm (57 ft. lbs.).



6. Assemble Dial Indicator C-3339A (1) into Scooter Block D-115-2A (2) and secure set screw.
7. Position Scooter Block/Dial Indicator flush on the pinion height block. Hold scooter block and zero the dial indicator.
8. Slowly slide the scooter block across the pinion height block over to the arbor. Move the scooter block till the dial indicator probe crests the arbor, then record the highest reading.
9. Select a shim equal to the dial indicator reading plus the drive pinion gear depth variance number etched in the face of the pinion gear using the opposite sign on the variance number. Example : If the depth variance is –2, add 0.002 in. to the dial indicator reading. If the depth variance is +2, subtract 0.002 in. from the dial indicator reading.
10. Remove the pinion depth gauge components from the housing

DIFFERENTIAL SIDE BEARING PRELOAD AND GEAR BACKLASH



Before performing differential bearing preload and ring gear backlash measurements, pinion gear depth must be established and the pinion gear ready for installation. Establishing pinion gear depth is essential to gear backlash and tooth contact patterns.

Differential side bearing preload and gear backlash is accomplish with selective shims (2,4) positioned behind the differential side bearing cups. Shim thickness is determined using Dummy Bearings D-348 in place of the differential side bearings, Dummy Shims 8107 and a Dial Indicator C-3339A.

SHIM FORMULA : Differential End Play + Dummy Shims + Preload Specification = Total shims. Total shims – Ring Gear Side Shim – Backlash Specification = Pinon Gear Side Shim


PRELOAD SHIM SELECTION




1. Remove side bearings from differential case.
2. Install ring gear, if necessary, on differential case and tighten bolts to specification.
3. Install Dummy Bearings D-348 (4) on differential case (3).
4. Install differential case in the housing.
5. Insert 3.0 mm (0.118 in.) Dummy Shims 8107 (1) between the dummy bearing and the housing.
6. Install bearing caps in their correct positions and snug the bolts.



7. Seat differential (3) dummy bearings to pinion gear side (2) of the housing with a dead-blow hammer (1).



8. Seat the differential (3) dummy bearings to ring gear side (1) of the housing with a dead-blow hammer (2).



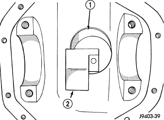
9. Thread Pin C-3288-B (2) into cover bolt hole below ring gear.
10. Attach Dial Indicator C-3339A (1) to the pin and position indicator plunger on a flat surface of the ring gear bolt head.



11. Push and hold differential case (1) to pinion gear side of the housing and zero dial indicator (2).



12. Push and hold differential case (2) to ring gear side of the housing. Record dial indicator (1) differential end play reading. Add 0.2 mm (0.008 in.) preload specification plus 6.0 mm (0.236 in.) dummy shims to differential end play reading. This is the total shims needed to preload the differential bearings.
13. Rotate dial indicator out of the way on pilot stud.
14. Remove differential case, dummy bearings and dummy shims from the housing.



15. Install pinion gear in the housing and establish pinion torque to rotating.
16. Install differential case and dummy bearings in the housing (without shims) and snug bearing cap bolts.
17. Position dial indicator plunger on a flat surface between the ring gear bolts.
18. Push and hold differential case (1) toward pinion gear and zero dial indicator (2).



19. Push and hold differential case (2) to ring gear side of the housing and record dial indicator (1) ring gear side reading.
20. Subtract backlash specification 0.05 mm (0.002 in.) from ring gear side reading for ring gear backlash. The remainder is the shim needed on the ring gear side of the differential.
21. Subtract ring gear side shim from the total preload shim. This remainder is the shim needed on the pinion gear side of the differential.
22. Rotate dial indicator out of the way on pilot stud.
23. Remove differential case and dummy bearings from the housing.
24. Install new side bearing on differential case.



25. Install spreader W-129-B (1) with hold downs (2) from Adapter Set 6987B on differential housing and spread axle opening enough to receive differential case.

CAUTION: Never spread housing over 0.50 mm (0.020 in.). Failure to follow these instruction will damage the housing.




26. Place side bearing shims into the housing against the differential bearing bore.
27. Install differential case (2) with bearing cups (3) in the housing (1).
28. Remove spreader from housing.
29. Install bearing caps and tighten to 77 Nm (57 ft. lbs.).
30. Rotate the differential case several times to seat the side bearings.



31. Position the dial indicator (1) plunger against a ring gear tooth.
32. Push and hold ring gear upward while not allowing the pinion gear to rotate.
33. Zero dial indicator face to pointer.
34. Push and hold ring gear downward while not allowing the pinion gear to rotate. Dial indicator reading should be between 0.12 mm - 0.20 mm (0.005 in. - 0.008 in.).


If backlash is not within specifications transfer the necessary amount of shim thickness from one side of the differential housing to the other.

Verify differential case and ring gear runout by measuring ring to pinion gear backlash at eight locations around the ring gear. Readings should not vary more than 0.05 mm (0.002 in.). If readings vary more than specified, the ring gear or the differential case is defective.

After the proper backlash is achieved, perform the Gear Contact Pattern Analysis procedure.


GEAR CONTACT PATTERN



The ring gear and pinion teeth contact patterns will show if the pinion depth is correct in the housing. It will also show if the ring gear backlash has been adjusted correctly. The backlash can be adjusted within specifications to achieve desired tooth contact patterns.

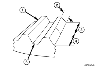
The TOP LAND (1) of the gear tooth is the top surface of the tooth. The PROFILE (2) of the gear tooth is the depth of the tooth. The TOE (3) of the gear is the portion of the tooth surface at the end towards the center. The HEEL (4) of the gear is the portion of the tooth at the outer-end. The ROOT (5) of the gear tooth is the lowest portion of the tooth.

NOTE: If the PROFILE across the tooth is the same it is a 3 Axis cut gear. If the PROFILE across the tooth is tapered it is a 2 Axis cut gear.


1. Apply a thin coat of hydrated ferric oxide or equivalent to the drive and coast side of the ring gear teeth.
2. Wrap, twist, and hold a shop towel around the pinion yoke to increase the turning resistance of the pinion. This will provide a more distinct contact pattern.
3. With a boxed end wrench on a ring gear bolt, rotate the differential case one complete revolution in both directions while a load is being applied from shop towel.

The areas on the ring gear teeth with the greatest degree of contact against the pinion teeth will squeeze the compound to the areas with the least amount of contact. Note and compare patterns on the ring gear teeth to Gear Tooth Contact Patterns charts and adjust pinion depth and gear backlash as necessary.

3 AXIS CUT GEAR



2 AXIS CUT GEAR




DIFFERENTIAL BEARING PRELOAD CHECK



With an inch pound torque wrench (2) measure Total Torque To Rotate (TTTR). This is the final check on the differential assembly before installing the axle shafts. This will verify the correct differential bearing preload.

Total Torque To Rotate is: Pinion Torque To Rotate plus 0.79 - 1.24 Nm (7 - 11 in. lbs.)

NOTE: If TTTR is high, decrease the shim thickness equally on both sides of the differential and check TTTR again. If TTTR is low, increase the shims thickness equally on both sides of the differential and check TTTR again.