REMOVAL


Two Door




1. Separate the quarter windows hook and loop strips from the soft top and unzip the quarter windows.
2. Separate the quarter window sides (2) from the side rail retainers (1) and the door frame and remove the quarter window.



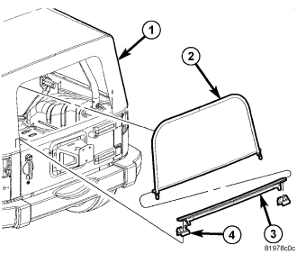
3. Unzip the rear window (2) and release window retainer from the rear tailgate retainer (3).



4. Release the front latches (1) from the windshield frame loops (2).



5. Release the soft top retainers (2) from the upper side and lower rear rail retainers (1).



6. Fold the top into the down position.
7. Remove the pivot bracket bolts (3) from the pivot knuckles (1).



8. separate the knuckles (2) from the pivot brackets.
9. Remove the soft top (1) from the vehicle.

Four Door




1. Separate the quarter windows hook and loop strips from the soft top and unzip the quarter windows.
2. Separate the quarter window sides (2) from the side rail retainers (1) and the door frame and remove the quarter window.
3. Unzip the rear window and release window retainer (2) from the rear tailgate retainer (1).



4. Unzip the rear window (2) and release window retainer from the rear tailgate retainer (3).



5. Release the front latches (1) from the windshield frame loops (2).



6. Release the soft top retainers (2) from the upper side and lower rear rail retainers (1).



7. Fold the top into the down position.
8. Remove the pivot bracket bolts (1) from the pivot knuckles (3) and separate the knuckles from the pivot bracket (2).





FOUR DOOR SHOWN, TWO DOOR SIMILAR


1 - SPORT BAR ASSEMBLY
2 - PIVOT BRACKET BOLTS
3 - PIVOT BRACKETS
4 - PIVOT KNUCKLE BOLTS 14 Nm (10.5 ft. lbs.)
5 - FOUR DOOR SOFT TOP
6 - DOOR RAIL THUMB SCREW
7 - DOOR RAIL RETAINER
8 - DOOR RAIL THUMB SCREW
9 - REAR DOOR RAIL THUMB SCREW
10 - REAR DOOR RAIL RETAINER


9. Remove the soft top (5) from the vehicle.