B140D-REAR RIGHT AUDIO SPEAKER OUTPUT CIRCUIT LOW

For a complete wiring diagram Refer to Section 8W.



Possible Causes
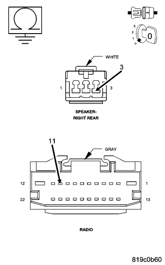
(X206) RIGHT REAR SPEAKER (+) CIRCUIT SHORTED TO GROUND
(X296) RIGHT REAR SPEAKER (-) CIRCUIT SHORTED TO GROUND
SPEAKER




Diagnostic Test

1. INTERMITTENT CONDITION

Turn the ignition on.
With the scan tool, clear all Radio DTC's.
Turn the Radio on.
With the scan tool, read the DTC information.

Does the scan tool read: B140D-REAR RIGHT AUDIO SPEAKER OUTPUT CIRCUIT LOW?

Yes


No

2. (X206) RIGHT REAR SPEAKER (+) CIRCUIT SHORTED TO GROUND



Turn the ignition off.
Disconnect the Radio harness connector.
Disconnect the Rear Right Audio Speaker harness connector.
Measure the resistance between ground and the (X206) Right Rear Speaker (+) circuit.

Is the resistance below 1000.0 ohms?

Yes


No

3. (X296) RIGHT REAR SPEAKER (-) CIRCUIT SHORTED TO GROUND



Measure the resistance between ground and the (X296) Right Rear Speaker (-) circuit.

Is the resistance below 1000.0 ohms?

Yes


No

4. SPEAKER

Connect the Radio harness connector.
With the Rear Right Audio Speaker still disconnected, turn the ignition on.
Turn the Radio on.
With the scan tool, clear all Radio DTC's.
With the scan tool, read the DTC information.

Does the scan tool read: B140D-REAR RIGHT AUDIO SPEAKER OUTPUT CIRCUIT LOW?

Yes


No