
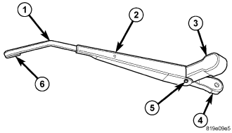
The front wiper arms are the rigid members located between the wiper pivots that protrude from the cowl plenum cover/grille panel near the base of the windshield and the wiper blades on the windshield glass. These wiper arms feature an over-center hinge (5) that allows easy access to the windshield glass for cleaning. The wiper arm has a die cast metal pivot end (4) with a large tapered mounting hole at one end. A molded black plastic cap (3) snaps over the pivot end to conceal the retaining nut and mounting hole following wiper arm installation.
The wide end of a tapered, stamped steel channel (2) hinges on and is secured with a hinge pin to the blade end of the wiper arm pivot end. One end of a long, rigid, stamped steel strap (1), with a small hole near the end closest to the pivot, is riveted and crimped within the narrow end of the stamped steel channel. The tip of the wiper blade end of this strap is bent back under itself to form a small hook (6). Concealed within the stamped steel channel is a long tension spring which is engaged with a wire hook to the underside of the die cast pivot end and is hooked through a small hole in the steel strap. The entire wiper arm has a satin black finish applied to all of its visible surfaces.
There are unique wiper arms for right-hand-drive and left-hand-drive vehicles. The driver and passenger side arms are interchangeable. A wiper arm cannot be adjusted or repaired and, if ineffective or damaged, it must be replaced.