
The dual washer pump/motor unit features a reversible electric motor. The direction of the motor is controlled by hard wired outputs from the Totally Integrated Power Module (TIPM). When battery current and ground are applied to the two pump motor terminals, the motor rotates in one direction. When the polarity of these connections is reversed, the motor rotates in the opposite direction. When either the single or the dual pump motor is energized, the rotor-type pump pressurizes the washer fluid and forces it through one of the pump outlet nipples, and into the front or rear washer plumbing.
The TIPM controls the hard wired outputs to the pump motor based upon electronic washer request messages received over the Controller Area Network (CAN) data bus from the ElectroMechanical Instrument Cluster (EMIC) (also known as the Cab Compartment Node/CCN). The EMIC receives electronic washer switch status messages over a Local Interface Network (LIN) bus connection from the Steering Control Module (SCM) within the left (lighting) multi-function switch housing. The SCM monitors hard wired analog and multiplex inputs from the washer switch circuitry contained within the right (wiper) multi-function switch to determine the proper electronic messages to send.
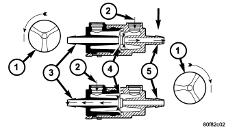
Washer fluid is drawn through the pump inlet nipple from the washer reservoir to the inlet port of the washer pump housing. An integral valve body is located in a housing on the outlet port side (2) of the dual pump housing. A diaphragm (4) in this valve body controls which washer system plumbing receives the washer fluid being pressurized by the pump.
When the dual pump impeller (1) rotates in the counterclockwise direction (viewed from the bottom), the biased diaphragm is sealing off the rear washer system outlet and nipple so the pressurized washer fluid is pushed out through the pump front outlet port and the front washer outlet nipple (5). When the pump impeller rotates in the clockwise direction (viewed from the bottom), pressurized washer fluid is pushed out through the pump rear outlet port and moves the diaphragm to open the rear washer outlet nipple and seal off the front washer outlet nipple, then the pressurized washer fluid is pushed out through the rear washer outlet nipple (3).
The washer pump/motor unit and the hard wired motor control circuits from the TIPM may be diagnosed using conventional diagnostic tools and procedures. Refer to the appropriate wiring information. However, conventional diagnostic methods will not prove conclusive in the diagnosis of the washer pump/motor unit or the electronic controls or communication between other modules and devices that provide some features of the front and rear wiper and washer system. The most reliable, efficient, and accurate means to diagnose the washer pump/motor unit or the electronic controls and communication related to washer pump/motor unit operation requires the use of a diagnostic scan tool. Refer to the appropriate diagnostic information.