
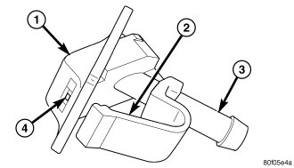
The fluidic front washer nozzle (1) is constructed of molded plastic and has in integral latch feature (2) that secures it in a dedicated mounting hole located at the center, rear edge of the hood panel near the windshield. The domed upper surface of the washer nozzle is visible on the outside of the hood panel, and the nozzle orifice (4) is oriented towards the windshield glass.
The washer plumbing fitting (3) for the washer nozzle extends below the hood panel and is accessible from the engine compartment.
The front washer nozzle cannot be adjusted or repaired and, if ineffective or damaged, it must be replaced.