
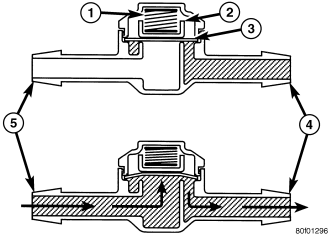
The front check valve provides more than one function in this application. It prevents washer fluid from draining out of the front washer supply hoses back to the washer reservoir. This drain-back would result in a lengthy delay from when the front washer switch is actuated until washer fluid was dispensed through the front washer nozzle, because the washer pump would have to refill the front washer plumbing from the reservoir to the nozzle. Such a drain-back condition could also result in water, dirt, or other outside contaminants being siphoned into the washer system through the washer nozzle orifice. This water could subsequently freeze and plug the nozzle, while other contaminants could interfere with proper nozzle operation and cause improper nozzle spray patterns. In addition, the front check valve prevents washer fluid from siphoning out through the front washer nozzle after the front washer system is turned OFF.
When the washer pump pressurizes and pumps washer fluid from the reservoir through the front washer plumbing (5), the fluid pressure unseats a diaphragm (3) from over a sump well within the valve by overriding the pressure applied to it by a piston (2) and coiled spring (1). With the diaphragm unseated, washer fluid is allowed to flow toward the front washer nozzle (4). When the washer pump stops operating, the spring pressure on the piston seats the diaphragm over the sump well in the valve and fluid flow in either direction within the front washer plumbing is prevented.