*SWING GATE LOCK INOPERATIVE





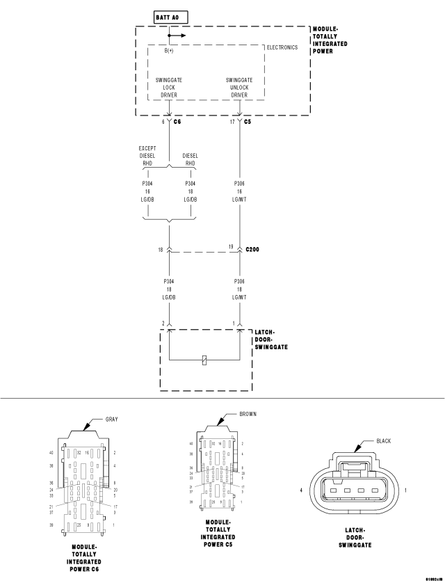
For a complete wiring diagram Refer to Section 8W.



Possible Causes
(P304) SWIING GATE LOCK DRIVER CIRCUIT OPEN
(P304) SWING GATE LOCK DRIVER CIRCUIT SHORT TO GROUND
(P306) SWING GATE UNLOCK DRIVER CIRCUIT OPEN
(P306) SWING GATE UNLOCK DRIVER CIRCUIT SHORT TO GROUND
SWING GATE LATCH
TOTALLY INTEGRATED POWER MODULE (TIPM)




Diagnostic Test

1. SWING GATE LATCH INOPERATIVE



Disconnect the Swing Gate Latch connector.
Connect a test light between the (P304) Swing Gate Lock Driver circuit and the (P406) Swing Gate Unlock Driver circuit.
Close the front doors or trip the front door latches to the closed position.
Operate the door locks in both positions and observe the test light.

Does the test light illuminate brightly for approximately 300 ms. when the door locks are actuated?

Yes


No

2. (P306) SWING GATE UNLOCK DRIVER CIRCUIT OPEN



Turn the ignition off.
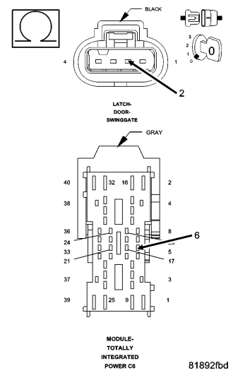
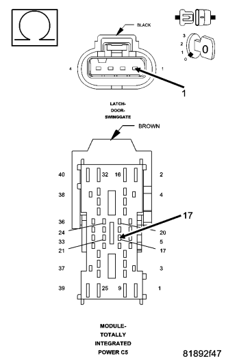
Disconnect the TIPM C5 connector.
Measure the resistance of the (P306) Swing Gate Unlock Driver circuit between the Latch connector and the TIPM C5 connector.

Is the resistance below 2.0 ohms?

No


Yes

3. (P306) SWING GATE UNLOCK DRIVER CIRCUIT SHORT TO GROUND



Measure the resistance between Ground and the (P306) Swing Gate Unlock Driver circuit.

Is the resistance below 1000.0 ohms?

Yes


No

4. (P304) SWING GATE LOCK DRIVER CIRCUIT OPEN



Disconnect the TIPM C6 connector.
Measure the resistance of the (P304) Swing Gate Lock Driver circuit between the TIPM C6 connector and the Swing Gate Latch connector.

Is the resistance below 2.0 ohms?

Yes


No

5. (P304) SWING GATE DOOR LOCK DRIVER CIRCUIT SHORT TO GROUND



Measure the resistance between Ground and the (P304) Swing Gate Lock Driver circuit.

Is the resistance below 1000.0 ohms?

Yes


No