
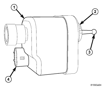
The headlamp leveling motor (1) is located on the engine compartment side of the front end module carrier behind each headlamp unit on vehicles equipped with the headlamp leveling system, which is available only in certain markets where it is required equipment. The motor is encased within a molded plastic housing and is secured by an integral wedge-type mounting boss (2) to a keyed flange on the front end module carrier.
The outside of the motor housing features an integral molded connector (4) on its lower rearward surface and a plastic pushrod with a ball formation (3) on its free end extends from the motor mounting boss. Within the motor housing is a 12-volt Direct Current (DC) servo motor, an electronic controller board that includes the motor logic circuits, and an integral screw-drive transmission. The headlamp leveling motor is connected to the vehicle electrical system through a dedicated take out and connector of the headlamp wire harness.
The motor cannot be repaired and, if ineffective or damaged, it must be replaced.