
The V6 engine uses platinum resistor spark plugs. They have resistance values of 6,000 to 20,000 ohms when checked with at least a 1000 volt tester.
Do not use an ohm meter to check the resistance of the spark plugs. This will give an inaccurate reading.
CAUTION: Cleaning of the platinum plug may damage the platinum tip.
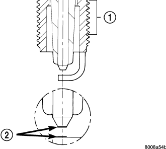
Apply anti-seize compound to spark plug threads only at point (1).
When the spark plug has a single or double platinum tip (2), a thin platinum pad may be welded to both, or just the center electrode end(s).
