B1477-CHANNEL 5 AUDIO SPEAKER OUTPUT CIRCUIT OPEN

For a complete wiring diagram Refer to Section 8W.



Possible Causes
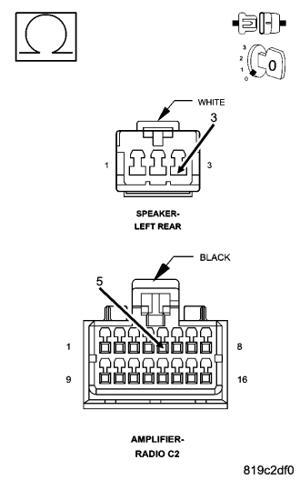
(X205) AMPLIFIED LEFT REAR SPEAKER (+) CIRCUIT OPEN
(X295) AMPLIFIED LEFT REAR SPEAKER (-) CIRCUIT OPEN
LEFT REAR SPEAKER
AMPLIFIER




Diagnostic Test

1. CHECK FOR AN INTERMITTENT CONDITION

Turn the ignition on.
Turn the radio on.
With the scan tool, erase Amplifier DTCs.
With the scan tool, reset the amplifier.
With the scan tool, read Amplifier DTCs.

Does the scan tool display active: B1477-CHANNEL 5 AUDIO SPEAKER OUTPUT CIRCUIT OPEN?

Yes


No

2. CHECK THE OPERATION OF THE AMPLIFIED LEFT REAR SPEAKER



Turn the ignition off.
Disconnect the Left Rear Speaker harness connector.
Turn the ignition on.
Turn the radio on and turn the volume to mid level.
With a voltmeter set to read in A/C voltage, measure the voltage of the Amplified Left Rear Speaker circuits in the Amplified Left Rear Speaker harness connector.

Is the voltage present greater than 1 volt?

Yes


No

3. CHECK THE (X205) AMPLIFIED LEFT REAR SPEAKER (+) CIRCUIT FOR AN OPEN



Turn the ignition off.
Disconnect the Amplifier C2 harness connector.
Measure the resistance of the (X205) Amplified Left Rear Speaker (+) circuit between the Amplifier C2 harness connector and the Amplified Left Rear Speaker harness connector.

Is the resistance below 5.0 ohms?

Yes


No

4. CHECK THE (X295) AMPLIFIED LEFT REAR SPEAKER (-) CIRCUIT FOR AN OPEN



Measure the resistance of the (X295) Amplified Left Rear Speaker (-) circuit between the Amplifier C2 harness connector and the Amplified Left Rear Speaker harness connector.

Is the resistance below 5.0 ohms?

Yes


No