B1468-CHANNEL 2 AUDIO SPEAKER OUTPUT CIRCUIT OPEN

For a complete wiring diagram Refer to Section 8W.



Possible Causes
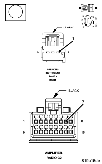
(X202) AMPLIFIED RIGHT I/P SPEAKER (+) CIRCUIT OPEN
(X292) AMPLIFIED RIGHT I/P SPEAKER (-) CIRCUIT OPEN
RIGHT I/P SPEAKER
AMPLIFIER




Diagnostic Test

1. CHECK FOR AN INTERMITTENT CONDITION

Turn the ignition on.
Turn the radio on.
With the scan tool, erase Amplifier DTCs.
With the scan tool, reset the amplifier.
With the scan tool, read Amplifier DTCs.

Does the scan tool display active: B1468-CHANNEL 2 AUDIO SPEAKER OUTPUT CIRCUIT OPEN?

Yes


No

2. CHECK THE OPERATION OF THE RIGHT FRONT I/P SPEAKER



Turn the ignition off.
Disconnect the Right I/P Speaker harness connector.
Turn the ignition on.
Turn the radio on and turn the volume to mid level.
With a voltmeter set to read in A/C voltage, measure the voltage of the Amplified Right I/P Speaker circuits in the Amplified Right I/P Speaker harness connector.

Is the voltage present greater than 1 volt?

Yes


No

3. CHECK THE (X202) AMPLIFIED RIGHT I/P SPEAKER (+) CIRCUIT FOR AN OPEN



Turn the ignition off.
Disconnect the Amplifier C2 harness connector.
Measure the resistance of the (X202) Amplified Right I/P Speaker (+) circuit between the Amplifier C2 harness connector and the Amplified Right I/P Speaker harness connector.

Is the resistance below 5.0 ohms?

Yes


No

4. CHECK THE (X292) AMPLIFIED RIGHT I/P SPEAKER (-) CIRCUIT FOR AN OPEN



Measure the resistance of the (X292) Amplified Right I/P Speaker (-) circuit between the Amplifier C2 harness connector and the Amplified Right I/P Speaker harness connector.

Is the resistance below 5.0 ohms?

Yes


No