B1467-CHANNEL 2 AUDIO SPEAKER OUTPUT CIRCUIT HIGH

For a complete wiring diagram Refer to Section 8W.



Possible Causes
(X202) AMPLIFIED RIGHT I/P SPEAKER (+) CIRCUIT SHORT TO VOLTAGE
(X292) AMPLIFIED RIGHT I/P SPEAKER (-) CIRCUIT SHORT TO VOLTAGE
AMPLIFIER




Diagnostic Test

1. CHECK FOR AN INTERMITTENT CONDITION

Turn the ignition on, then off, and then on again.
With the scan tool, read Amplifier DTCs.

Does the scan tool display active: B1467-CHANNEL 2 AUDIO SPEAKER OUTPUT CIRCUIT HIGH?

Yes


No

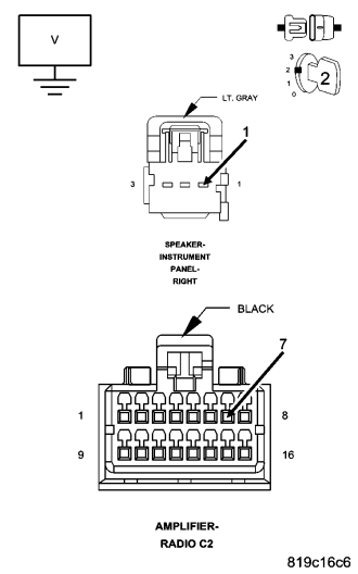
2. CHECK FOR VOLTAGE ON THE (X202) AMPLIFIED RIGHT I/P SPEAKER (+) CIRCUIT



Turn the ignition off.
Disconnect the Amplifier C2 harness connector.
Disconnect the Amplified Right I/P Speaker harness connector.
Turn the ignition on.
Measure for voltage on the (X202) Amplified Right I/P Speaker (+) circuit.

Is the voltage above 10.0 volts?

Yes


No

3. CHECK FOR VOLTAGE ON THE (X292) AMPLIFIED RIGHT I/P SPEAKER (-) CIRCUIT

Measure for voltage on the (X292) Amplified Right I/P Speaker (-) circuit.

Is the voltage above 10.0 volts?

Yes


No