B140F-REAR RIGHT AUDIO SPEAKER OUTPUT CIRCUIT OPEN

For a complete wiring diagram Refer to Section 8W.



Possible Causes
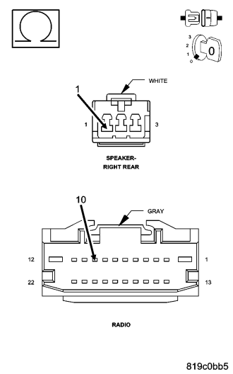
(X206) RIGHT REAR SPEAKER (+) CIRCUIT OPEN
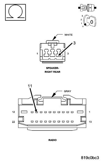
(X296) RIGHT REAR SPEAKER (-) CIRCUIT OPEN
SPEAKER




Diagnostic Test

1. INTERMITTENT CONDITION

Turn the ignition on.
With the scan tool, clear all Radio DTC's.
Turn the Radio on.
With the scan tool, read the DTC information.

Does the scan tool read: B140F-REAR RIGHT AUDIO SPEAKER OUTPUT CIRCUIT OPEN?

Yes


No

2. (X206) RIGHT REAR SPEAKER (+) CIRCUIT OPEN



Turn the ignition off.
Disconnect the Radio harness connector.
Disconnect the Rear Right Audio Speaker harness connector.
Measure the resistance of the (X206) Right Rear Speaker (+) circuit between the Radio and the Speaker.

Is the resistance below 5.0 ohms for each circuit?

Yes


No

3. (X296) RIGHT REAR SPEAKER (-) CIRCUIT OPEN



Measure the resistance of the (X296) Right Rear Speaker (-) circuit between the Radio and the Speaker.

Is the resistance below 5.0 ohms for each circuit?

Yes


No

4. SPEAKER

Connect the Radio harness connector.
With the Rear Right Audio Speaker still disconnected, turn the ignition on.
Turn the Radio on.
With the scan tool, clear all Radio DTC's.
With the scan tool, read the DTC information.

Does the scan tool read: B140F-REAR RIGHT AUDIO SPEAKER OUTPUT CIRCUIT OPEN?

Yes


No