B140B-REAR LEFT AUDIO SPEAKER OUTPUT CIRCUIT OPEN

For a complete wiring diagram Refer to Section 8W.



Possible Causes
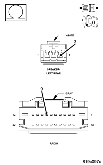
(X205) LEFT REAR SPEAKER (+) CIRCUIT OPEN
(X295) LEFT REAR SPEAKER (-) CIRCUIT OPEN
SPEAKER




Diagnostic Test

1. INTERMITTENT CONDITION

Turn the ignition on.
With the scan tool, clear all Radio DTC's.
Turn the Radio on.
With the scan tool, read the DTC information.

Does the scan tool read: B140B-REAR LEFT AUDIO SPEAKER OUTPUT CIRCUIT OPEN?

Yes


No

2. (X205) LEFT REAR SPEAKER (+) CIRCUIT OPEN



Turn the ignition off.
Disconnect the Radio harness connector.
Disconnect the Rear Left Audio Speaker harness connector.
Measure the resistance of the (X205) Left Rear Speaker (+) circuit between the Radio and the Speaker.

Is the resistance below 5.0 ohms for each circuit?

Yes


No

3. (X295) LEFT REAR SPEAKER (-) CIRCUIT OPEN



Measure the resistance of the (X295) Left Rear Speaker (-) circuit between the Radio and the Speaker.

Is the resistance below 5.0 ohms for each circuit?

Yes


No

4. SPEAKER

Connect the Radio harness connector.
With the Rear Left Audio Speaker still disconnected, turn the ignition on.
Turn the Radio on.
With the scan tool, clear all Radio DTC's.
With the scan tool, read the DTC information.

Does the scan tool read: B140B-REAR LEFT AUDIO SPEAKER OUTPUT CIRCUIT OPEN?

Yes


No