B140A-REAR LEFT AUDIO SPEAKER OUTPUT CIRCUIT HIGH

For a complete wiring diagram Refer to Section 8W.



Possible Causes
(X205) LEFT REAR SPEAKER (+) CIRCUIT SHORTED TO VOLTAGE
(X295) LEFT REAR SPEAKER (-) CIRCUIT SHORTED TO VOLTAGE
SPEAKER




Diagnostic Test

1. INTERMITTENT CONDITION

Turn the ignition on, then off, and then on again.
With the scan tool, read Radio DTCs.

Does the scan tool display active: B140A-REAR LEFT AUDIO SPEAKER OUTPUT CIRCUIT HIGH?

Yes


No

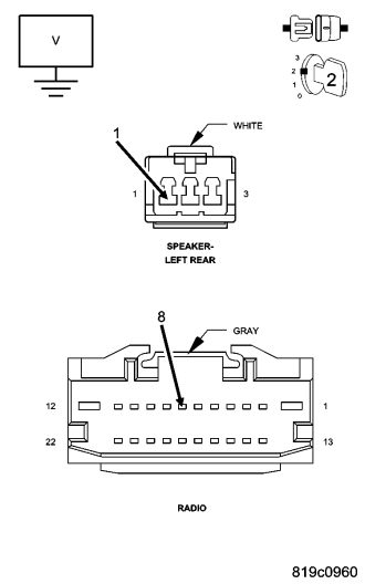
2. (X205) LEFT REAR SPEAKER (+) CIRCUIT SHORTED TO VOLTAGE



Turn the ignition off.
Disconnect the Radio harness connector.
Disconnect the Left Rear Audio Speaker harness connector.
Turn the ignition on.
Measure for voltage on the (X205) Left Rear Speaker (+) circuit.

Is the voltage above 10.0 volts?

Yes


No

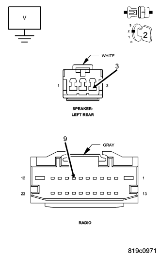
3. (X295) LEFT REAR SPEAKER (-) CIRCUIT SHORTED TO VOLTAGE



Measure for voltage on the (X295) Left Rear Speaker (-) circuit.


Is the voltage above 10.0 volts?

Yes


No