DISASSEMBLY
Position transfer case in a shallow drain pan. Remove drain plug and drain any remaining lubricant remaining in case.
REAR EXTENSION, RETAINER, AND REAR CASE

1.
Install bolts (4) into two threaded holes in the rear propeller shaft companion flange 180 degrees apart.
2.
Place the Holder 6719 (2) over the two bolts and use the Holder to remove the rear companion flange nut.
3.
Remove the rear companion flange (3) from the output shaft.
NOTE:
The companion flange is a taper fit onto the output shaft. It may be necessary to use Puller 8992 to remove the companion flange.
4.
There is a seal slinger located on the rear of the companion flange that can be replaced if necessary. Use a suitable cold chisel to strike the slinger hub parallel to the centerline in several
spots to expand the slinger hub. A new slinger can be driven onto the flange hub using a suitable pipe tool.
5.
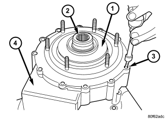
Remove rear extension bolts.
6.
Remove rear extension housing. Tap extension once or twice with a plastic mallet to break sealer bead and loosen it.
YOKE AND SHIFT LEVER

1.
Shift transfer case into a 4WD mode.
2.
Use Spanner Wrench 6958 to secure the yoke (3) and remove the yoke nut. Discard nut after removal. It is not reusable.

NOTE:
The yoke is a taper fit onto the output shaft. It may be necessary to use a puller such as C-452 to remove the yoke.
3.
Remove the yoke (2) from the front output shaft.
4.
There is a seal slinger located on the rear of the yoke that can be replaced if necessary. Use a suitable cold chisel to strike the slinger hub parallel to the centerline in several spots to expand
the slinger hub. A new slinger can be driven onto the yoke hub using a suitable pipe tool.
5.
Remove yoke rubber seal from front output shaft.

6.
Remove bolt (2) that retains the shift lever (1) to sector shaft (3).

7.
Remove the shift lever (1) from the shift sector (3).

8.
Remove the detente plug (1).

9.
Remove the detente plug (1), spring (2), and plunger (3) from the transfer case.

10.
Remove the transfer case position sensor (1).

11.
Remove the shift sector support (2).
MAINSHAFT, FRONT OUTPUT SHAFT, AND DRIVE CHAIN

1.
Note position of bolts that attach rear case (1) to front case (2). Some bolts are unique. Mark position of these bolts with paint or scribe.
2.
Remove rear case-to-front case bolts (3).

3.
Loosen rear case (1) with pry tool to break sealer bead.
4.
Unseat rear case from alignment dowels (3).

CAUTION:
Do not remove the bolts holding the oil pump cover to the rear case half. The oil pump cover is aligned to the rear output shaft bearing inner race and will become mis-aligned
if the bolts are loosened. If the transfer case failure has generated any debris which may have become trapped in the oil pump, the rear case and oil pump assembly MUST be replaced.
5.
Remove rear case (1)and oil pump assembly from front case (2).

6.
Remove shift rail cups (3) and spring (2).

7.
Remove front drive sprocket (2) retaining ring (3).

8.
Remove mainshaft (1), front sprocket (3), and chain (2) as an assembly.
SHIFT FORKS

1.
Remove front output shaft (2) from bearing in case (1).

2.
Remove the shift rail (2) from the shift forks.

3.
Remove mode fork (1), mode sleeve (2). Note which way sleeve fits in fork (long side of sleeve goes to front).

4.
Remove range fork (1) and hub (2) as an assembly. Note fork position for installation reference.

5.
Remove shift sector (2).
MAINSHAFT

1.
Remove the snap-ring (3) that secures the chain drive sprocket (2) onto mainshaft (1). Use standard (instead of parallel jaw) snap-ring pliers
to remove this snap-ring.

2.
Remove drive sprocket (2).

3.
Remove the sliding clutch gear (2) from the mainshaft (1).

4.
Rotate the mainshaft (1) 180 degrees and remove the mode hub (2) snap-ring (3).

5.
Remove the mode hub (2) from the mainshaft.

6.
Remove the drive sprocket drive hub (2) from the mainshaft (1).
INPUT AND PLANETARY GEAR

1.
Remove front input retainer (1) attaching bolts (3).

2.
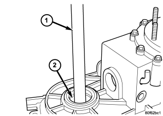
Remove the input gear (2) seal with a suitable screw and slide hammer.
3.
Remove the input gear snap-ring (3) from the input retainer (1).

4.
Remove the input gear (2) from the input gear bearing with suitable hammer.

5.
Remove front input retainer (1).

6.
Remove the low range planetary (1) plastic spacer (2) from the planetary carrier or back side of the input retainer.

7.
Remove the low range planetary gear set (2) from the front case half (1).

8.
Remove the annulus gear (2) from the front case half (1).

9.
Support the input retainer (1) on Cup 8148 (2) as shown.

10.
While using suitable snap-ring pliers to spread the input gear bearing snap-ring, press downward on the retainer (1) to remove the bearing (3).

11.
Remove the front output shaft bearing with Universal Handle C-4171 (1) and Installer 8239 (2).

12.
Remove the rear output shaft bearing with Universal Handle C-4171 (2) and Installer 8239 (3).