ASSEMBLY
BEARINGS AND SEALS

1.
Remove the input shaft bearing (1) from the front case (2) with suitable snap-ring pliers.
2.
Transfer the retaining ring to the new bearing if necessary and install the bearing into the front case.

3.
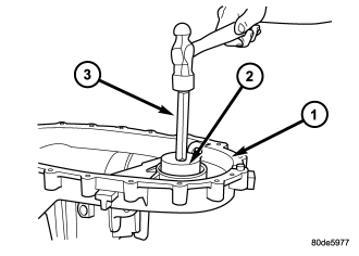
Using Installer 6436 (2) and Universal Handle C-4171 (3), remove front output shaft bearing.
4.
Start front output shaft bearing in case. Then seat bearing with Universal Handle C-4171 and Bearing Installer 6953.
5.
Install front output shaft bearing retaining ring.

6.
Remove input gear pilot bearing by inserting a suitably sized drift (1) into the splined end of the input gear (2) and driving the bearing out
with the drift and a hammer.
7.
Install new pilot bearing with Bearing Installer 8684.

8.
Remove the front output shaft rear bearing with the screw and jaws from Remover L-4454 (2) and Cup 8148 (3).

9.
Install new bearing with Universal Handle C-4171 (1) and Bushing Installer 5066 (3).

10.
The bearing bore is chamfered (1) at the top. Install the bearing so it is flush with the lower edge of this chamfer.

11.
Remove the rear output shaft bearing from the rear case using Bearing Installer 8684 (2) and Universal Handle C-4171 (3).

12.
Install the rear output shaft bearing into the rear case (1) using Bearing Installer 6953 (2) and Universal Handle C-4171 (3).
INPUT AND PLANETARY GEAR

1.
Lubricate gears (3, 4) and thrust washers (5) with recommended transmission fluid.
2.
Install first thrust washer (5) in low range gear (3). Be sure washer tabs are properly aligned in gear notches.
3.
Install input gear (3) in low range gear (4). Be sure input gear is fully seated.
4.
Install remaining thrust washer (5) in low range gear (4) and on top of input gear (3). Be sure washer tabs are properly aligned in gear notches.
5.
Install retainer (2) on input gear and install snap-ring (1).

6.
Align and install low range/input gear assembly (2) in front case (1). Be sure low range gear pinions are engaged in annulus gear and that input
gear shaft is fully seated in front bearing.

7.
Install snap-ring (2) to hold input/low range gear (1) into front bearing.
8.
Install a new input gear seal using Installer 8841 and Universal Handle C-4171.
SHIFT FORKS AND MAINSHAFT

1.
Lubricate mainshaft splines with recommended transmission fluid.
2.
Install the mode hub (1) onto the output shaft.

3.
Install the mode hub retaining ring (2) onto the output shaft (1).

4.
Install the sprocket hub (2) onto the output shaft (1).

5.
Install the clutch gear (2) onto the output shaft (1).

6.
Install the drive sprocket (2) onto the output shaft (1).

7.
Install the drive sprocket (3) thrust washer (2) onto the output shaft (1).

8.
Install the drive sprocket retaining ring (2) onto the output shaft (1).

9.
Lubricate sector shaft with transmission fluid and install shift sector (1) in case. Position slot in sector so it will be aligned with shift
fork pin when shift forks are installed.

10.
Install the shift sector support (1). Tighten the sector support to 27-42 Nm (20-30 ft.lbs.).

11.
Assemble and install range fork (2) and hub (1). Be sure hub is properly seated in low range gear and engaged to the input gear.
12.
Align and insert range fork pin in shift sector slot.
13.
Install the range fork retaining ring.

14.
Install mode fork (1) and shift rail (2) onto the mode sleeve (3).
15.
Install the mode fork, sleeve, and shift rail into the transfer case.

16.
Install mainshaft (2) into the transfer case (1). Guide mainshaft through the mode and range sleeves and into the input gear.

17.
Install new o-ring on detent plug (2).

18.
Install detent plunger (4), spring (3), and plug (2). Tighten the plug to 16-25 Nm (12-18 ft. lbs.).
FRONT OUTPUT SHAFT AND DRIVE CHAIN

1.
Install the front output shaft (2) into the front output shaft bearing.

2.
Insert front sprocket in drive chain.
3.
Install drive chain (2) around mainshaft sprocket (1). Then position front sprocket over front shaft.
4.
Raise mainshaft about 2.54 cm (one inch) and seat front sprocket on front output shaft.

5.
If mainshaft and mode sleeve were unseated during chain installation, align and reseat mainshaft in input gear and hub.
6.
Install front sprocket (1) retaining ring (2).

7.
Install spring (2) and cup (1) on shift rail.

8.
Insert magnet (1) in front case pocket (2).
OIL PUMP AND REAR CASE

CAUTION:
Do not remove the bolts holding the oil pump cover to the rear case half. The oil pump cover is aligned to the rear output shaft inner bearing race and will become mis-aligned
if the bolts are loosened. If the transfer case failure has generated any debris which may have become trapped in the oil pump. the rear case and oil pump assembly MUST be replaced.
1.
Apply bead of Mopar Gasket Maker, or equivalent, to mating surface of front case. Keep sealer bead width to maximum of 3/16 inch. Do not use excessive amount of sealer as excess will be displaced
into case interior.
2.
Align oil pump with mainshaft and align shift rail with bore in rear case. Then install rear case (1) and oil pump assembly.

3.
Install 4-5 rear case(1)-to front case (2) bolts to hold rear case in position. Tighten bolts snug but not to specified torque at this time.
CAUTION:
Verify that shift rail, and case alignment dowels are seated before installing any bolts. Case could be cracked if shaft rail or dowels are misaligned.

4.
Apply Loctiteâ„¢ 242 to remainder of rear case-to-front case bolt threads and install bolts. Tighten bolts to 20-27 Nm (15-24 ft. lbs.),
5.
Install rear output bearing (2) snap-ring (3) to output shaft.
REAR EXTENSION

1.
Install new seal in rear extension housing seal with Installer D-163 and Universal Handle C-4171..
2.
Apply bead of Mopar Gasket Maker, or equivalent, to mating surface of rear extension housing. Keep sealer bead width to maximum of 3/16 inch. Do not use excessive amount of sealer as excess
could be displaced into output bearing.
3.
Align and install rear extension housing (1) on retainer.
4.
Apply Mopar Silicone Sealer to threads of rear extension housing bolts. Then install and tighten bolts to 16-24 Nm (12-18 ft. lbs.) torque.
COMPANION FLANGE AND RANGE LEVER

1.
Install range lever (1) and bolt (2) on sector shaft. Tighten bolt to 27-34 Nm (20-25 ft. lbs.) torque.

2.
Inspect the o-ring on the transfer case position sensor. Replace the o-ring if necessary.
3.
Install the transfer case position sensor (1) in the front case (2). Tighten sensor to 20-34 Nm (15-25 ft. lbs.) torque.

4.
Install new seal washer (1) on front output shaft.
5.
Lubricate companion flange hub with transmission fluid and install flange onto the front ouput shaft.
6.
Install new flange nut onto front output shaft.
7.
Tighten flange nut to 122-176 Nm (90-130 ft. lbs.) torque.