ASSEMBLY
Use petrolatum on all seals to ease assembly of components.

1.
Using an arbor press (2), install input shaft (1) to input shaft hub (3).

2.
Install input shaft snap ring (3).

3.
Position the OD/Reverse piston return spring (2) and snap ring (3) onto the OD/Reverse piston (1).

4.
Using an arbor press (1) and Disc 6057 (4), install the OD/Reverse piston return spring (6) and snap ring (3).

5.
Install the OD/Reverse piston (1) assembly to the input clutch retainer (2).

6.
Install the input hub/shaft assembly (1) to the OD/Reverse piston/clutch retainer assembly (2).

7.
Install input hub tapered snap ring (2). Make sure snap ring is fully seated.

8.
Install the UD clutch piston (1).

9.
Install UD piston return spring (1) and Compressor 5067 (2).

10.
Position the UD spring retainer (1) and snap ring (2) on the piston return spring (4).

CAUTION:
Compress return spring just enough to install snap ring.
11.
Using Compressor 5059A (6) and an arbor press (1), install the UD spring retainer and snap ring (3).

12.
Install the UD clutch pack (four fibers/four steels) (1, 3). Leave the top disc (2) out until after the snap ring is installed.

13.
Install the UD clutch flat snap ring (1).

14.
Install the last UD clutch disc (1).

15.
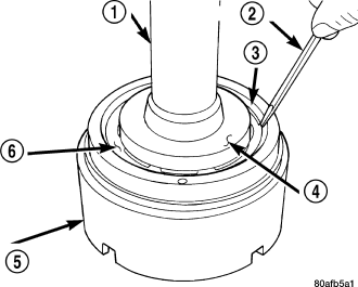
Install the OD/UD clutch reaction plate (1). The OD/UD clutches reaction plate has a step on both sides. Install the OD/UD clutches reaction
plate tapered step side up.

NOTE:
Snap ring ends must be located within one finger of the input clutch hub. Be sure that snap ring is fully seated, by pushing with screwdriver, into snap ring groove all the
way around.
16.
Install the UD/OD tapered snap ring (1).

17.
Seat tapered snap ring (1) to ensure proper installation .

18.
Install input clutch assembly (1) to the Input Clutch Pressure Fixture 8391 (2).

19.
Set up dial indicator (1) on the UD clutch pack (2).

20.
Using moderate pressure, press down and hold (near indicator) the UD clutch pack (2) with screwdriver or suitable tool and zero dial indicator (1).
When releasing pressure on clutch pack, indicator reading should advance 0.005-0.010 inches.
CAUTION:
Do not apply more than 30 psi (206 kPa) to the underdrive clutch pack.
21.
Apply 30 psi (206 kPa) to the underdrive hose on Pressure Fixture 8391 and measure UD clutch clearance. Measure and record UD clutch pack measurement in four (4) places, 90 degrees apart.
22.
Take average of four measurements and compare with UD clutch pack clearance specification. Underdrive clutch pack clearance must be 0.94-1.50 mm (0.037-0.059 in.).
23.
If necessary, select the proper reaction plate to achieve specifications.

24.
Install the OD clutch pack (four fibers/three steels) (1).

25.
Install OD reaction plate waved snap ring (1).

26.
Install the OD/Reverse reaction plate (1) with large step down (towards OD clutch pack).

27.
Install OD reaction plate flat snap ring (3).

28.
Measure OD clutch pack clearance. Set up dial indicator (1) on top of the OD/Reverse reaction plate (2).
29.
Zero dial indicator and apply 30 psi (206 kPa) air pressure to the overdrive clutch hose on Pressure Fixture 8391. Measure and record OD clutch pack measurement in four (4) places,
90 degrees apart.
30.
Take average of four measurements and compare with OD clutch pack clearance specification. The overdrive (OD) clutch pack clearance is 1.07-3.25 mm (0.042-0.128 in.).
If not within specifications, the clutch is not assembled properly. There is no adjustment for the OD clutch clearance.

31.
Install reverse clutch pack (two fibers/one steel) (1, 2).

32.
Install reverse clutch reaction plate (1) with the flat side down towards reverse clutch.

33.
Tap reaction plate (3) down to allow installation of the reverse clutch snap ring (1). Install reverse clutch snap ring (1).

34.
Pry up reverse reaction plate (4) to seat against snap ring (2).

35.
Set up a dial indicator (1) on the reverse clutch pack (2).

36.
Using moderate pressure, press down and hold (near indicator) reverse clutch disc (2) with screwdriver or suitable tool and zero dial indicator (1).
When releasing pressure, indicator should advance 0.005-0.010 inches as clutch pack relaxes.
37.
Apply 30 psi (206 kPa) air pressure to the reverse clutch hose on Tool 8391. Measure and record reverse clutch pack measurement in four (4) places, 90 degrees apart.
38.
Take average of four measurements and compare with reverse clutch pack clearance specification. The reverse clutch pack clearance is 0.89-1.37 mm (0.035-0.054 in.). Select the proper
reverse clutch snap ring to achieve specifications.
39.
To complete the assembly, reverse clutch and overdrive clutch must be removed.

40.
Install the number 2 needle bearing (1).

41.
Install the underdrive shaft assembly (1).

42.
Install the number 3 thrust washer (1) to the underdrive shaft assembly (2). Be sure five tabs are seated properly.

43.
Install the number 3 thrust plate (3) to the bottom of the overdrive shaft assembly (1). Retain with petrolatum or transmission assembly gel (2).

44.
Install the overdrive shaft assembly (1).

45.
Reinstall overdrive and reverse clutch. Rechecking these clutch clearances is not necessary.