REMOVAL
1.
Remove lower steering column cover.
(Refer to 23 - BODY/INSTRUMENT PANEL/STEERING COLUMN OPENING COVER - REMOVAL)
2.
Remove lower steering column shroud.
3.
Remove tie strap near the solenoid retaining the brake transmission interlock cable to the steering column.
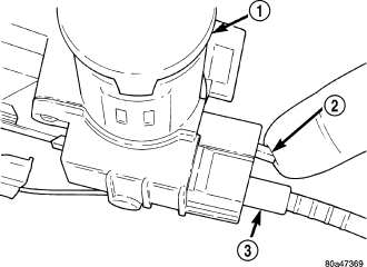
4.
Disengage wire connector from solenoid.
5.
With the ignition removed or in the unlocked position, disengage lock tab holding cable end to steering column .
6.
Pull cable end from steering column.
7.
Remove the floor console and related trim.
(Refer to 23 - BODY/INTERIOR/CENTER CONSOLE - REMOVAL)
8.
Disconnect the cable from the bellcrank .


9.
Disconnect and remove the cable from the shift bracket.