DISASSEMBLY

1.
Remove shift tower (1) bolts (2) and remove tower.

2.
Through shift tower opening (1) shift two shift rails (2) forward to engage two gears.

3.
Remove back-up lamp switch (1) bolt (2) and remove switch.

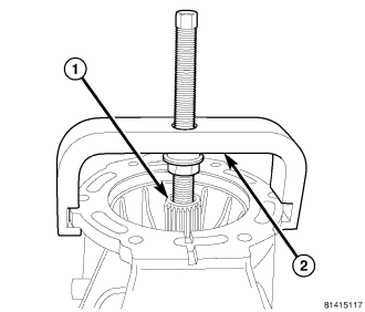
4.
Remove countershaft plug (1) from the front housing (2) with a seal pick.

5.
Remove countershaft bolt (1) from the front housing (2).

6.
Remove output shaft (1) seal (2) from rear housing (3) with a seal pick.

7.
Remove output shaft (1) snap ring (2) 4x4 only.

8.
Stand transmission on the rear housing and remove the housing bolts.
9.
Remove front housing (1) from the rear housing (2).

10.
Remove shift rails (1) support plate (2) bolts.

11.
Remove input shaft (1) roller bearing (2).

12.
Remove fifth gear synchronizer blocker ring (1) from 5-6 synchronizer hub (2).

13.
Remove fifth gear synchronizer friction ring (1) from 5-6 synchronizer hub (2).
14.
Set geartrain and shift rails with rear housing into Build Fixture 9633.

15.
Remove mainshaft shaft (1) from rear housing bearing with Remover 9636 (2).

16.
Remove mainshaft (1), countershaft (2) and shift rails/forks (3) from fixture.
MAINSHAFT

1.
Place mainshaft with 5-6 synchronizer facing up in build Fixture 9648 and place in a vise.
2.
Push 5-6 synchronizer sleeve (1) down on hub and remove detents (2) springs and balls.

3.
Remove 5-6 synchronizer sleeve (1) from hub (2).

4.
Remove 5-6 synchronizer hub (1) snap ring (2).
NOTE:
All snap rings are select fit from the factory, and must be installed in their original location.

5.
Remove 5-6 synchronizer hub (1) and sixth gear synchronizer rings (2) with a three jaw puller. Place puller jaws under sixth gear synchronizer rings (2).

6.
Remove sixth gear (1) and bearing (2).

7.
Third gear (1) and fourth gear (2) are serviced with the mainshaft only.
8.
Remove mainshaft from Fixture 9648. Turn fixture over in vise and set opposite end of mainshaft in the fixture.

9.
Remove reverse gear (1) synchronizer sleeve (2) off synchronizer hub.

10.
Remove reverse synchronizer hub (1) detents (2).

11.
Remove reverse synchronizer hub (1) with three jaw puller (2). Place puller jaws in hub detent openings.

12.
Remove reverse gear (1) synchronizer ring (2).

13.
Remove reverse gear (1) and bearing (2).

14.
Remove reverse gear bearing race (1), thrust washer (2) and first gear (3) with puller (4). Place puller jaws under first gear (3).
15.
Remove first gear bearing.

16.
Remove first gear synchronizer rings.
17.
Push 1-2 synchronizer sleeve down on hub. Remove 1-2 synchronizer hub (1) detents (2), balls and springs.

18.
Remove 1-2 synchronizer sleeve (1) from synchronizer hub (2).

19.
Remove 1-2 synchronizer hub (1) snap ring (2).
NOTE:
All snap rings are select fit from the factory, and must be installed in their original location.

20.
Remove 1-2 synchronizer hub (1), synchronizer rings and second gear (2) off shaft with a press. Place second gear (2) on press plates and press shaft through 1-2 synchronizer hub (1), synchronizer
rings and second gear (2)
COUNTERSHAFT

The countershaft (1) and 3-4 synchronizer (2) are serviced as an assembly only .
FRONT HOUSING

1.
Remove input shaft retainer (1) bolts (2) and remove retainer.

2.
Remove countershaft bearing (1) retainer (2) bolts and remove retainers.

3.
Remove countershaft bearing (1) from housing (2) with a hammer and driver.

4.
Remove input shaft (1) bearing retainer (2, 3) bolts and remove retainers.
5.
Remove input shaft and bearing from housing with a dead blow hammer.

6.
Remove input shaft seal (1) from housing (2) with a hammer and driver.
INPUT SHAFT

1.
Remove input shaft bearing (1) snap ring (2).
NOTE:
All snap rings are select fit from the factory, and must be installed in their original location.

2.
Remove input shaft bearing (1) with Splitter 1130 (2) and press. Place splitter around bearing retainer lip.
REAR HOUSING

1.
Remove reverse idler gear shaft bolt (1) from housing (2).

2.
Thread idler gear shaft bolt (1) into the shaft (2). Then work shaft (2) out of the idler gear.

3.
Remove reverse idler gear (1) shaft support (2).

4.
Remove reverse idler gear (1) thrust washer (2).

5.
Remove reverse idler gear (1) and bearing (2).

6.
Break plastic countershaft roller bearing cage (1) with a screw driver (2). Then remove cage and roller bearing.

7.
Remove countershaft roller bearing shell (1) from the rear housing with Remover 7794-A (2) and Slide Hammer C-637.

8.
Remove mainshaft bearing (1) retainer (2) bolts and remove retainers.
9.
Remove bearing from housing with a hammer and driver.