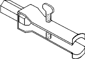
POWER STEERING GEAR














Handle C-4171