INSTALLATION - CYLINDER HEAD OFF

1.
If removed, install a new valve stem seal
(Refer to 9 - ENGINE/CYLINDER HEAD/VALVE STEM SEALS - INSTALLATION).
2.
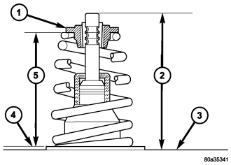
Position valve spring and retainer on spring seat.
3.
Using Special Tool C-3422-D with 8464 Adapter , compress the spring only enough to install the valve retainer locks. Install valve retainer
locks.

4.
Slowly release the spring tension. Ensure the retainer locks are seated properly .