P0685-AUTO SHUTDOWN CONTROL CIRCUIT





For a complete wiring diagram Refer to Section 8W.



Possible Causes
(K51) ASD CONTROL CIRCUIT SHORTED TO BATTERY VOLTAGE
(K51) ASD CONTROL CIRCUIT OPEN
(K51) ASD CONTROL CIRCUIT SHORTED TO GROUND
TIPM
PCM


Always perform the Pre-Diagnostic Troubleshooting procedure before proceeding. (Refer to 9 - ENGINE - DIAGNOSIS AND TESTING).



Diagnostic Test

1. ASD OPERATION

Ignition on, engine not running.
With a scan tool, actuate the ASD.

Is the ASD operating?

Yes


No

2. (K51) ASD CONTROL CIRCUIT SHORTED TO VOLTAGE



Stop the ASD actuation.
Turn the ignition off.
Disconnect the C3 PCM harness connector.
Disconnect the C2 TIPM harness connector.
Ignition on, engine not running.
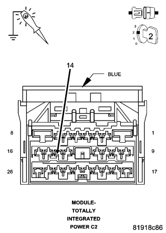
Measure the voltage on the (K51) ASD Control circuit at the C2 TIPM harness connector.

Does the voltmeter indicate voltage present?

Yes


No

3. (K51) ASD CONTROL CIRCUIT OPEN



Turn the ignition off.

CAUTION: Do not probe the PCM harness connectors. Probing the PCM harness connectors will damage the PCM terminals resulting in poor terminal to pin connection. Install Miller Special Tool #8815 to perform diagnosis.


Measure the resistance of the (K51) ASD Control circuit from the TIPM harness connector to the appropriate terminals of special tool #8815.

Is the resistance below 5.0 ohms?

Yes


No

4. (K51) ASD CONTROL CIRCUIT SHORTED TO GROUND



Measure the resistance between ground and the (K51) ASD Control circuit at the C2 TIPM harness connector.

Is the resistance below 100 ohms?

Yes


No

5. ASD CONTROL OPERATION FROM THE PCM



Connect the C3 PCM harness connector.
Ignition on, engine not running.
Using the scan tool in the PCM, actuate the ASD.
With a 12-volt test light connected to ground, probe the (K51) ASD Control circuit in the C2 TIPM harness connector.

Does the test light illuminate brightly and flash on and off?

Yes


No

6. PCM

NOTE: Before continuing, check the PCM harness connector terminals for corrosion, damage, or terminal push out. Repair as necessary.


Using the schematics as a guide, inspect the wire harness and connectors. Pay particular attention to all Power and Ground circuits.

Were there any problems found?

Yes


No