REMOVAL




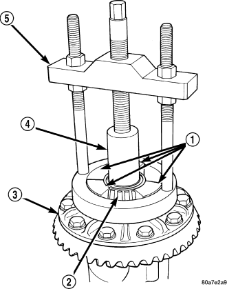
1. Remove differential (3) from housing.
2. Remove bearings (2) from differential case with Puller C-293-PA (5), Adapters C-293-39 (1) and Plug SP-3289 (4).