INSTALLATION

NOTE:
Inspect axle shaft retaining plate (1), if plate is bent or warped replace plate.
1.
Install retaining plate (1) on axle shaft (2).

2.
Apply a coat of multi-purpose grease on sealing surface of axle seal.
3.
Install seal (1) on axle shaft (2) with cavity away from axle shaft retaining.

4.
Press bearing and bearing retaining ring (1) onto axle shaft (2) with press and press blocks.

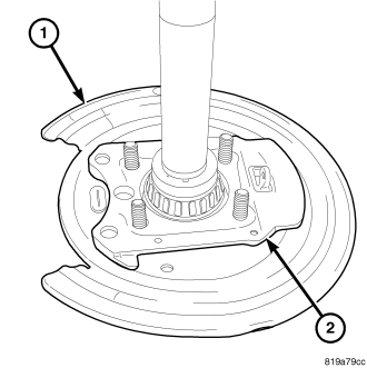
5.
Install dust shield (1) and support plate (2) on axle shaft retainer.
6.
Lubricate bearing with Mopar Wheel Bearing Grease, or equivalent. Wipe excess grease from outside of bearing.
7.
Install axle in vehicle.