REMOVAL

1.
With transmission in neutral, position vehicle on hoist.
2.
Position and secure a lift under the axle.
3.
Mark propeller shaft flange (1) and axle pinion flange (2) for installation reference.
4.
Remove propeller shaft and suspend under the vehicle.

5.
Remove vent hose (1) from the axle tube (2).

6.
Remove park brake cables (1) from axle (2).
NOTE:
Park brake cables are self adjusting and must be locked out before removal.

7.
Remove brake calipers (2) and rotors (1).

8.
Remove brake sensors connector (1) from sensors (2).

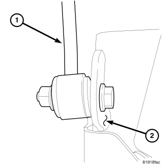
9.
Remove track bar (1) from axle bracket (2)

10.
Remove stabilizer bar links (1) from axle brackets (2).

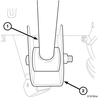
11.
Remove shock absorbers (1) from axle brackets (2).

12.
Remove upper control arms (1) from axle brackets (2).

13.
Loosen lower control arm (1) bolts and lower axle enough to remove coil springs and spring insulators.
14.
Remove lower control arm (1) from axle brackets (2).
15.
Lower and remove the axle.