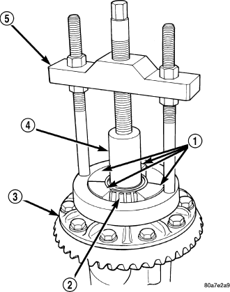
REMOVAL




1. Remove bearings (2) from the differential case (3) with Puller C-293-PA (5) Adapter C-293-39 (1) and Plug SP-3289 (4).