INSTALLATION

CAUTION:
Keep cross and bearing cap straight during installation. Failure to follow these instruction will result in damage.
1.
Pack bearing caps 1/3 full of wheel bearing lubricant. Apply extreme pressure (EP), lithium-base lubricant to aid in installation.
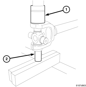
2.
Position cross (1) in the shaft yoke (2).

3.
Tap bearing cap into the yoke bores far enough to position cross.
4.
Position receiver/socket (1) on shaft yoke and driver/socket (2) on bearing cap in press.

5.
Press bearing cap into shaft yoke (1) until bearing cap snap ring groove is visible and install snap ring (2).

6.
Position receiver/socket (1) on shaft yoke and driver/socket (2) on bearing cap in press.

7.
Press bearing cap into shaft yoke (1) until bearing cap snap ring groove is visible and install snap ring (2).

8.
Install stub shaft yoke (1) on U-joint cross (2).

9.
Tap fist bearing cap into the stub shaft yoke bore far enough to position cross.
10.
Position receiver/socket (1) on shaft yoke and driver/socket (2) on bearing cap in press.

11.
Press bearing cap into stub shaft yoke (1) until bearing cap snap ring groove is visible and install snap ring (2).

12.
Position receiver/socket (1) on stub shaft yoke and driver/socket (2) on bearing cap in press.

13.
Press bearing cap into stub shaft yoke (1) until bearing cap snap ring groove is visible and install snap ring (2).
14.
Install axle shaft.