REMOVAL

NOTE:
Saturate bearing caps with penetrating oil prior to removal.
1.
Remove axle shaft.
2.
Remove bearing cap snap rings (1) from stub shaft yoke (2) bearing caps.

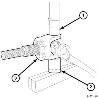
3.
Position receiver/socket (2) and driver/socket (1) on stub shaft yoke (3) in press. Press bearing cup into receiver/socket (2).

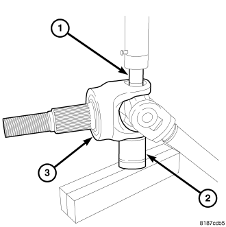
4.
Remove bearing cap (1) from stub shaft yoke (2).

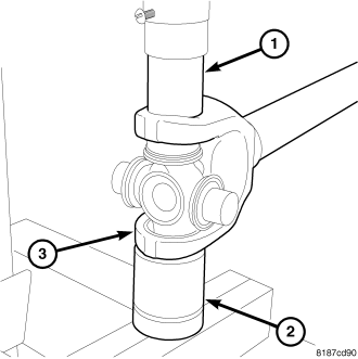
5.
Position receiver/socket (2) under stub shaft yoke (3) remaining bearing cup and driver/socket (1) on U-joint cross in press. Press bearing cup into receiver/socket (2)

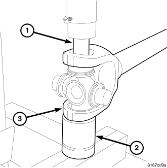
6.
Remove bearing cap (1) from stub shaft yoke (2). Then remove stub shaft from U-joint cross.

7.
Remove snap rings (1) from shaft yoke (2) bearing caps.

8.
Position receiver/socket (2) and driver/socket (1) on shaft yoke (3) in press. Press bearing cup into receiver/socket (2).

9.
Remove bearing cap (1) from shaft yoke (2).

10.
Position receiver/socket (2) under shaft yoke (3) remaining bearing cup and driver/socket (1) on U-joint cross in press. Press bearing cup into receiver/socket (2)

11.
Remove bearing cap (1) from shaft yoke (2). Then remove U-joint cross from shaft yoke.