AXLE BRACKET BUSHING




1. Remove the upper suspension arm from axle
(Refer to 2 - SUSPENSION/FRONT/UPPER CONTROL ARM - REMOVAL).
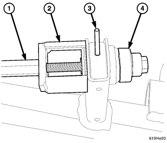
2. Install the special tool 9948–3 Nut (1), 9948–1 Receiver (2), 9948–5 Spacer and 9948–2 Driver (4).
3. Press the bushing (5) out of the axle bracket (6).