ISO FLARING
A preformed metal brake tube is recommended and preferred for all repairs. However, double-wall steel tube can be used for emergency repair when factory replacement parts are not readily available.

To make a ISO flare use an ISO flaring tool kit.
1.
Cut off damaged tube with Tubing Cutter.
2.
Remove any burrs from the inside of the tube.
3.
Install tube nut on the tube.
4.
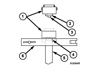
Position the tube in the flaring tool flush with the top of the tool bar (6). Then tighten the tool bar on the tube.
5.
Install the correct size adaptor (1) on the flaring tool yoke screw.
6.
Lubricate the adaptor (2).
7.
Align the adaptor and yoke screw over the tube.
8.
Turn the yoke screw in until the adaptor is squarely seated on the tool bar.